山东省烟台市电子与智能化工程专业承包二级(2021)

2021-04-23 23:51:00
Amber
原创
7954
摘要:2021年(截止04月23日)烟台市电子与智能化专业承包二级公司名单!信息来源:国家住建局

烟台市电子与智能化专业承包二级2020年公司名单

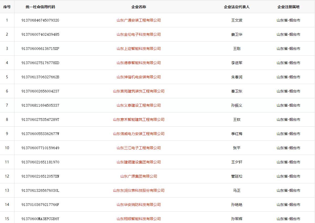
1 91370600705878331X 烟台德尔自控技术有限公司 荣虔 山东省-烟台市

2 91370684674507932G 山东广通安装工程有限公司 王文波 山东省-烟台市

3 91370602726692616J 烟台零点科技发展有限公司 聂小云 山东省-烟台市

4 91370600706347866P 烟台大昌安装有限责任公司 闫金兴 山东省-烟台市

5 91370600690618800Q 毅康科技有限公司 曲毅 山东省-烟台市

6 724997643 烟台三宏科技有限公司 李燕明 山东省-烟台市

7 91370600746560186C 烟台东方威思顿电气有限公司 张侠 山东省-烟台市

8 9137060070630556XG 烟台市顺百利建筑装饰工程有限公司 朱冠华 山东省-烟台市

9 913706007402439485 山东金伦电子科技有限公司 姜卫华 山东省-烟台市

10 9137060066136715XP 山东上迎智能科技有限公司 王刚 山东省-烟台市

11 9137060275176778XD 山东德泰智能科技有限公司 李进军 山东省-烟台市

12 9137060270581096XE 烟台天成建筑装饰工程有限公司 牛玉堂 山东省-烟台市

13 91370613774171495L 烟台市颐光装饰有限公司 姜松春 山东省-烟台市

14 91370681786119686B 烟台奥泰楼宇工程有限公司 杨雅淇 山东省-烟台市

15 91370613706327662B 山东坤锋机电安装有限公司 朱春润 山东省-烟台市

16 91370600754465613F 烟台惠成实业有限公司 潘涛 山东省-烟台市

17 913706002656004237 山东宫苑建筑装饰工程有限公司 秦卫东 山东省-烟台市

18 91370600737244966H 烟台海港信息通信有限公司 孙永刚 山东省-烟台市

19 91370600732619087U 烟建集团第二工业设备安装有限公司 王文革 山东省-烟台市

20 913700001650810568 东方电子股份有限公司 丁振华 山东省-烟台市

21 91370600745689383B 烟台市贵友工程安装有限公司 张炳海 山东省-烟台市

22 913706811694505337 山东义泰建设工程有限公司 孙振义 山东省-烟台市

23 91370600699655595H 烟台东陆智能工程有限公司 张红 山东省-烟台市

24 91370600863117802X 烟台恒基建设有限公司 毕永明 山东省-烟台市

25 689495196 烟台恒信建设工程有限公司 徐梅 山东省-烟台市

26 91370602753547289T 山东意禾智能建筑工程有限公司 王钦 山东省-烟台市

27 91370600553362677W 山东信威电力安装工程有限公司 季红梅 山东省-烟台市

28 913706137445305730 烟台致远建筑智能工程有限公司 刘建民 山东省-烟台市

29 913706005533711004 青竹消防科技有限公司 宋海毓 山东省-烟台市

30 91370613693140662P 烟台欧美亚电子科技有限公司 李卓 山东省-烟台市

31 913706002653829992 烟台开发区金桥建筑安装有限责任公司 彭义强 山东省-烟台市

32 913706007317037893 烟台市发达置业有限公司 杨宽义 山东省-烟台市

33 91370613076960358N 烟台壹通信息网络工程有限公司 马丽媛 山东省-烟台市

34 913706007710159649 山东三江电子工程有限公司 张平 山东省-烟台市

35 913706021651181970 山东建锟建设集团有限公司 王夕轩 山东省-烟台市

36 913706007517711058 烟台万和建筑安装工程有限公司 刘宇 山东省-烟台市

37 913706007871518805 烟台赢动通信科技有限公司 徐高翔 山东省-烟台市

38 91370600758298875P 烟台海林建筑安装工程有限公司 徐斌 山东省-烟台市

39 91370602788494092E 烟台报捷数码网络科技有限公司 孙梦珂 山东省-烟台市

40 9137060216512057XN 山东广源集团有限公司 管军 山东省-烟台市

41 91370682738181602K 莱阳市大华消防工程安装有限责任公司 于学先 山东省-烟台市

42 913706007267139315 烟台华宇科技发展有限公司 贾长彬 山东省-烟台市

43 91370600056249163D 化生医疗科技有限公司 曹善江 山东省-烟台市

44 91370613265676030L 山东东润仪表科技股份有限公司 马正 山东省-烟台市

45 91370103679217766F 山东华安消防科技有限公司 孙艳艳 山东省-烟台市

46 91370600783470999Y 烟台昌达智能交通设备有限公司 李兆凯 山东省-烟台市

47 91370600MA3EPCGB6Y 山东翔顺智能科技有限公司 孙军辉 山东省-烟台市

48 91370600751775798R 烟台东方纵横科技股份有限公司 王涛 山东省-烟台市

49 91370613590316880A 烟台迈恩电子科技有限公司 董兴刚 山东省-烟台市

50 91370600MA3FB8J17U 烟台牡丹智慧园信息科技有限公司 王家彬 山东省-烟台市

51 91370600MA3RYP8521 晟远工程设计集团有限公司 张启龙 山东省-烟台市

52 91370600724959372D 山东红日科技有限公司 王道慧 山东省-烟台市

53 913706007720773158 烟台飞洋网络科技有限公司 刘洋 山东省-烟台市

54 913706000757906412 烟台大有数据系统有限公司 盖星 山东省-烟台市

55 913706007953136400 山东振远电子科技有限公司 权涛 山东省-烟台市

56 91370611661969273T 烟台市宏安科技发展有限公司 张宇峰 山东省-烟台市

57 91370600MA3Q02MU7E 烟台业达智慧城市运营科技有限公司 王力烽 山东省-烟台市



发表评论
评论通过审核后显示。