山东省聊城市电子与智能化工程专业承包二级(2021)

2021-04-25 00:34:00
Amber
原创
5754
摘要:2021年(截止04月25日)聊城市电子与智能化专业承包二级公司名单!信息来源:国家住建局

山东省·电子与智能化工程专业承包二级(聊城)

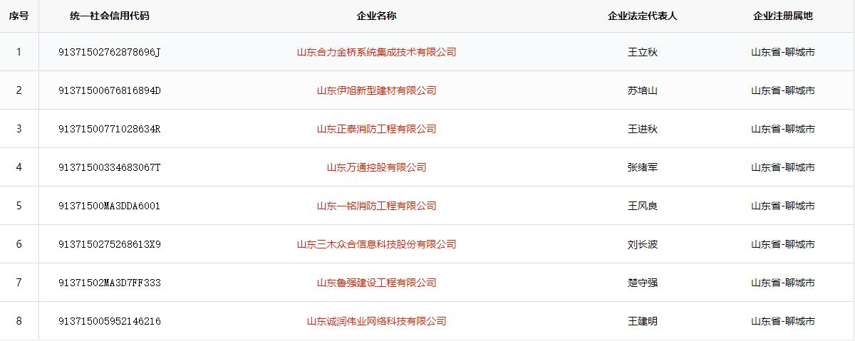
序号

统一社会信用代码

企业名称

企业法定代表人

企业注册属地


1

91371500167907720H

聊城市金盾电子工程有限公司

姜庆桂

山东省-聊城市

2

91371502762878696J

山东合力金桥系统集成技术有限公司

王立秋

山东省-聊城市

3

91371500676816894D

山东伊旭新型建材有限公司

苏培山

山东省-聊城市

4

91371500771028634R

山东正泰消防工程有限公司

王进秋

山东省-聊城市

5

91371500091704678L

海龙晟消防工程有限公司

姜刚海

山东省-聊城市

6

91371500334683067T

山东万通控股有限公司

张绪军

山东省-聊城市

7

913715005599231800

聊城市正大网络科技有限公司

陶万柳

山东省-聊城市

8

91371500MA3DDA6001

山东一铭消防工程有限公司

王风良

山东省-聊城市

9

9137150275268613X9

山东三木众合信息科技股份有限公司

刘长波

山东省-聊城市

10

91371502MA3D7FF333

山东鲁强建设工程有限公司

楚守强

山东省-聊城市

11

913715005952146216

山东诚润伟业网络科技有限公司

王建明

山东省-聊城市

12

9137150072925390XL

聊城市天宇网视科技有限责任公司

雷鸣

山东省-聊城市


发表评论
评论通过审核后显示。