山东省·机电工程施工总承包一级(资质)2021

2021-04-23 21:20:00
Amber
原创
4716
摘要:山东省·机电工程施工总承包一级(资质)截止日期2021年4月23日

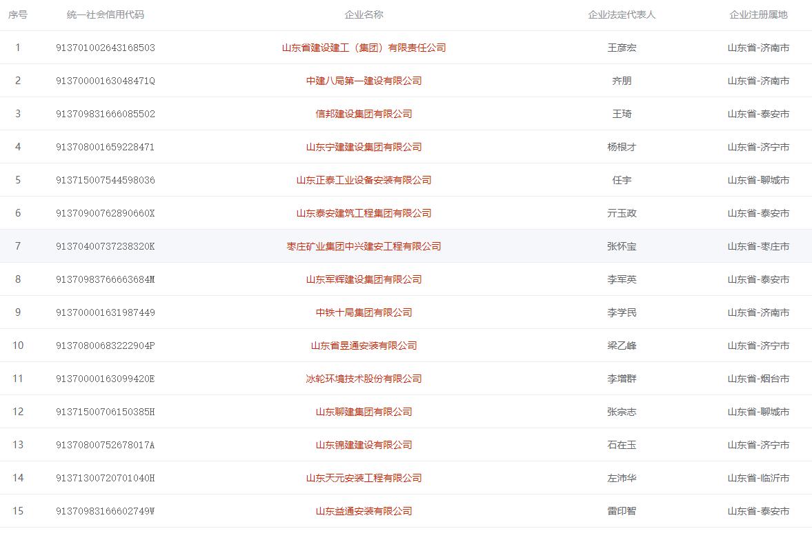
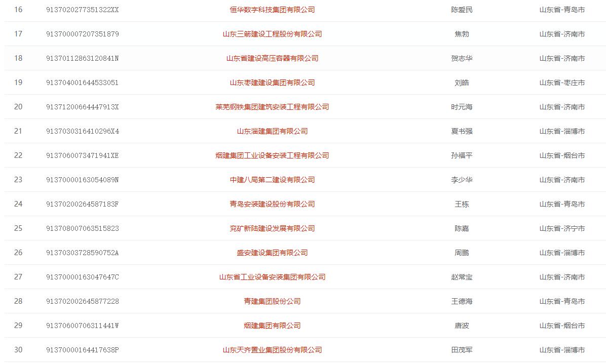
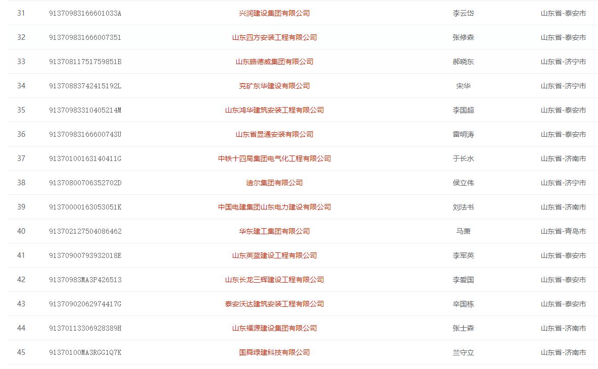
山东省·机电工程施工总承包一级(资质)

截止日期2021年4月23日

发表评论
评论通过审核后显示。