山东省济宁市电子与智能化工程专业承包二级(2021)

2021-04-23 00:20:00
Amber
原创
5233
摘要:2021年(截止04月23日)济宁市电子与智能化专业承包二级公司名单!信息来源:国家住建局

山东省·电子与智能化工程专业承包二级(济宁)


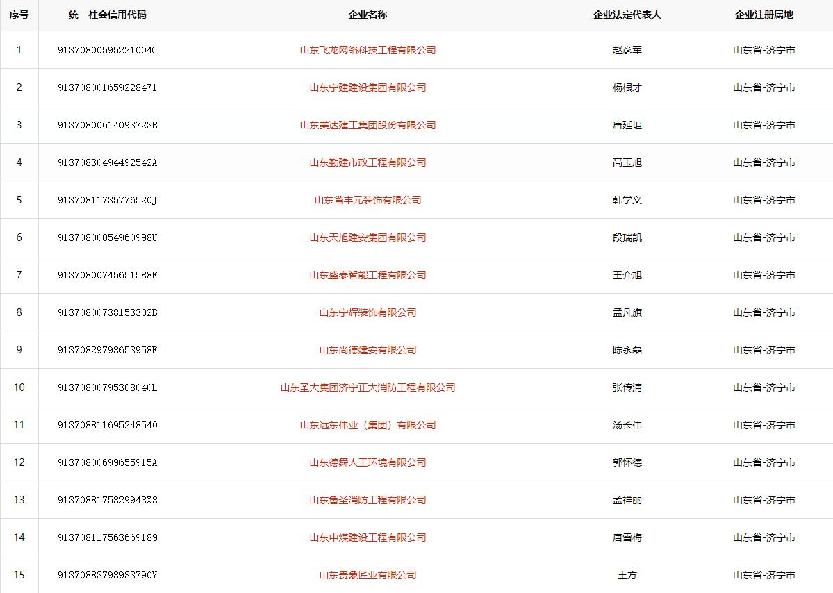
1 91370800595221004G 山东飞龙网络科技工程有限公司 赵彦军 山东省-济宁市

2 913708001659228471 山东宁建建设集团有限公司 杨根才 山东省-济宁市

3 91370800614093723B 山东美达建工集团股份有限公司 唐延坦 山东省-济宁市

4 91370830494492542A 山东勤建市政工程有限公司 高玉旭 山东省-济宁市

5 91370811735776520J 山东省丰元装饰有限公司 韩学义 山东省-济宁市

6 91370811665738245D 济宁泰华装饰工程有限责任公司 华明喜 山东省-济宁市

7 91370800054960998U 山东天旭建安集团有限公司 段瑞凯 山东省-济宁市

8 91370800745651588F 山东盛泰智能工程有限公司 王介旭 山东省-济宁市

9 91370800738153302B 山东宁辉装饰有限公司 孟凡旗 山东省-济宁市

10 91370829798653958F 山东尚德建安有限公司 陈永磊 山东省-济宁市

11 91370800795308040L 山东圣大集团济宁正大消防工程有限公司 张传清 山东省-济宁市

12 913708811695248540 山东远东伟业(集团)有限公司 汤长伟 山东省-济宁市

13 91370800699655915A 山东德舜人工环境有限公司 郭怀德 山东省-济宁市

14 9137088175829943X3 山东鲁圣消防工程有限公司 孟祥丽 山东省-济宁市

15 913708007498847849 山东天信装饰工程有限公司 杜明全 山东省-济宁市

16 913708117563669189 山东中煤建设工程有限公司 唐雪梅 山东省-济宁市

17 91370883793933790Y 山东贵象匠业有限公司 王方 山东省-济宁市

18 913708116140936788 济宁市富源建设工程有限公司 杨列富 山东省-济宁市

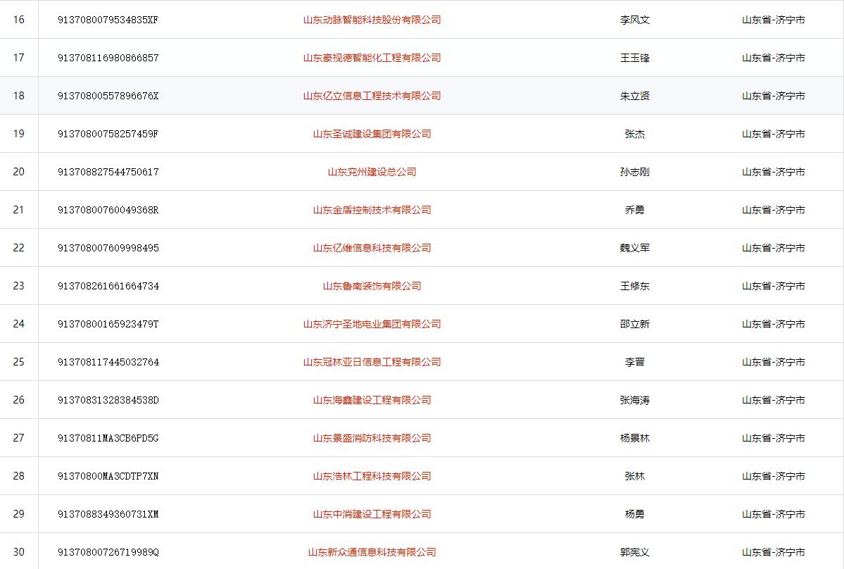
19 9137080079534835XF 山东动脉智能科技股份有限公司 李风文 山东省-济宁市

20 913708116980866857 山东豪视德智能化工程有限公司 王玉锋 山东省-济宁市

21 91370800557896676X 山东亿立信息工程技术有限公司 朱立贤 山东省-济宁市

22 91370800758257459F 山东圣诚建设集团有限公司 张杰 山东省-济宁市

23 913708827544750617 山东兖州建设总公司 孙志刚 山东省-济宁市

24 91370800760049368R 山东金盾控制技术有限公司 乔勇 山东省-济宁市

25 913708007609998495 山东亿维信息科技有限公司 魏义军 山东省-济宁市

26 913708261661664734 山东鲁南装饰有限公司 王修东 山东省-济宁市

27 91370800165923479T 山东济宁圣地电业集团有限公司 邵立新 山东省-济宁市

28 913708117445032764 山东冠林亚日信息工程有限公司 李晋 山东省-济宁市

29 91370800706352702D 迪尔集团有限公司 侯立伟 山东省-济宁市

30 91370831328384538D 山东海鑫建设集团有限公司 张海涛 山东省-济宁市

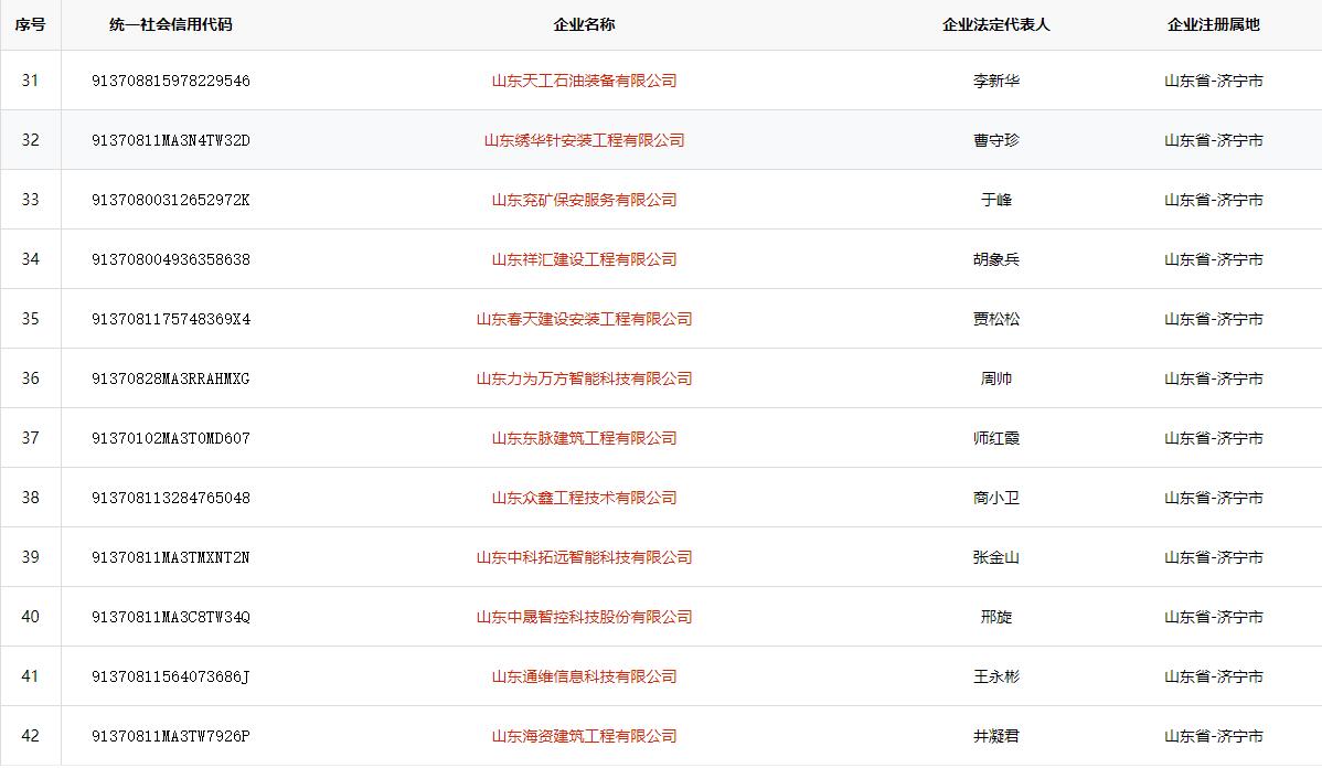
31 91370811MA3CB6PD5G 山东景盛消防科技有限公司 杨景林 山东省-济宁市

32 913708117939463480 济宁鼎盛泰德科技有限公司 何伟 山东省-济宁市

33 91370811778427291F 中罡技术有限公司 高兆朋 山东省-济宁市

34 91370800MA3CDTP7XN 山东浩林工程科技有限公司 张林 山东省-济宁市

35 9137088349360731XM 山东中消建设工程有限公司 杨勇 山东省-济宁市

36 91370800726719989Q 山东新众通信息科技有限公司 郭宪义 山东省-济宁市

37 913708815978229546 山东天工石油装备有限公司 李新华 山东省-济宁市

38 91370832328510864M 山东润韩市政工程有限公司 韩鹏 山东省-济宁市

39 91370811MA3N4TW32D 山东绣华针安装工程有限公司 曹守珍 山东省-济宁市

40 91370800788452028R 新国通通信技术有限公司 屠争光 山东省-济宁市

41 91370800312652972K 山东兖矿保安服务有限公司 于峰 山东省-济宁市

42 913708004936358638 山东祥汇建设工程有限公司 胡象兵 山东省-济宁市

43 9137081175748369X4 山东春天建设安装工程有限公司 贾松松 山东省-济宁市

44 91370811MA3MRR572P 济宁嘉诚消防工程有限公司 田成通 山东省-济宁市

45 91370800MA3ENCG80U 山东君和电子科技有限公司 王晴 山东省-济宁市

46 91370828MA3RRAHMXG 山东力为万方智能科技有限公司 周帅 山东省-济宁市

47 913708113284765048 山东众鑫工程技术有限公司 商小卫 山东省-济宁市

48 91370811775258576L 济宁海德信息科技有限公司 刘长路 山东省-济宁市

49 91370811MA3TMXNT2N 山东中科拓远智能科技有限公司 张金山 山东省-济宁市

50 91370811MA3C8TW34Q 山东中晟智控科技股份有限公司 邢旋 山东省-济宁市

51 91370811MA3TW7926P 山东海资建筑工程有限公司 井凝君 山东省-济宁市

52 91370800MA3UMFKK1T 山东创联数据科技有限公司 王晓辰 山东省-济宁市

53 91370800746568655N 山东科大机电科技股份有限公司 包继华 山东省-济宁市

54 91370882397332037W 山东浩坤润土水利设备有限公司 王薪婷 山东省-济宁市


发表评论
评论通过审核后显示。