山东省临沂市电子与智能化工程专业承包二级(2021)

2021-04-23 00:22:00
Amber
原创
5427
摘要:2021年(截止04月23日)临沂市电子与智能化专业承包二级公司名单!信息来源:国家住建局

山东省·电子与智能化工程专业承包二级(临沂)

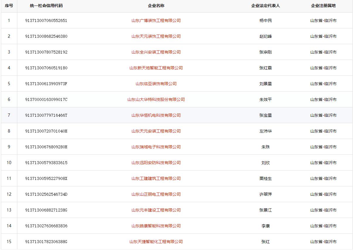
1

913713007060552651

山东广博装饰工程有限公司

杨中民

山东省-临沂市

2

91371300778444147M

冠诚建设工程有限公司

马砚兴

山东省-临沂市

3

913713008682546380

山东天元装饰工程有限公司

赵纪峰

山东省-临沂市

4

913713007807528192

山东全兴安装工程有限公司

张宗刚

山东省-临沂市

5

913713007517558425

临沂远大电气安装工程有限公司

孙钦华

山东省-临沂市

6

91371324168454639H

国方建设有限公司

岳伟

山东省-临沂市

7

91371300789297787B

临沂鼎泰消防安装有限公司

张德华

山东省-临沂市

8

91371301789250882E

一鸣建设集团有限公司

刘传景

山东省-临沂市

9

913713007060519180

山东新天地智能工程有限公司

张红霞

山东省-临沂市

10

91371300613993973F

山东临亚装饰有限公司

刘景星

山东省-临沂市

11

91370000163099017C

山东山大华特科技股份有限公司

朱效平

山东省-临沂市

12

91371300779716466T

山东华恒机电科技有限公司

张宝星

山东省-临沂市

13

91371300720701040H

山东天元安装工程有限公司

左沛华

山东省-临沂市

14

913713026601718840

金工匠建设集团有限公司

王睿

山东省-临沂市

15

91371300681721494G

临沂星辉照明工程有限公司

李艳华

山东省-临沂市

16

91371311556705954H

临沂恒越建筑安装工程有限公司

孙玉廷

山东省-临沂市

17

913713002671740269

临沂长城装饰工程有限公司

惠广申

山东省-临沂市

18

91371300676809280H

山东瑞城电子科技有限公司

朱珠

山东省-临沂市

19

913713005793833615

山东远阳安防科技有限公司

刘欣

山东省-临沂市

20

91371300595227908X

山东工建建筑工程有限公司

栗桂生

山东省-临沂市

21

91371302562546734D

山东山正弱电工程有限公司

许翠萍

山东省-临沂市

22

91371300688271238G

山东元丰建设工程有限公司

张景江

山东省-临沂市

23

913713027636683836

山东皓康智能科技有限公司

李康

山东省-临沂市

24

91371301759197267J

临沂天马电子声像照明工程有限公司

魏荣义

山东省-临沂市

25

91371301782306388G

山东天捷智能化工程有限公司

张红

山东省-临沂市

26

756391558

临沂市新邦信智能科技发展有限公司

李广文

山东省-临沂市

27

91371300863129010E

临沂桃源实业有限公司

阮正峰

山东省-临沂市

28

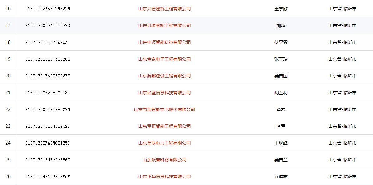
91371302MA3CTMEW2M

山东兴德建筑工程有限公司

王宗欣

山东省-临沂市

29

91371300334535339R

山东讯辰智能工程有限公司

刘康

山东省-临沂市

30

9137130233447971XJ

临沂亨通智能工程有限公司

张耀文

山东省-临沂市

31

9137130155670920XF

山东中迈智能科技有限公司

伏昱霖

山东省-临沂市

32

91371300334456171X

临沂泓信网络科技有限公司

牛广军

山东省-临沂市

33

91371302083961930K

山东全泰电子工程有限公司

张玉玲

山东省-临沂市

34

91371300MA3F7P2W77

山东航都建设工程有限公司

姜自国

山东省-临沂市

35

91371300321850153C

山东诺蓝信息科技有限公司

陶金利

山东省-临沂市

36

91371300577778167N

山东思索智能技术股份有限公司

董宏

山东省-临沂市

37

91371300328452262F

山东军正智能工程有限公司

李军

山东省-临沂市

38

91371302MA3MC8J35Q

山东至联电力工程有限公司

王现峰

山东省-临沂市

39

91371300745686756F

山东欧普科贸有限公司

姜自兰

山东省-临沂市

40

91371300MA3EQGUCX7

临沂城投思索信息技术有限公司

王雷

山东省-临沂市

41

913713243129353666

山东正华信息科技有限公司

徐谭志

山东省-临沂市

42

91371302MA3PF8GM0W

山东望峰建设工程集团有限公司

李家熠

山东省-临沂市

43

91371302MA3TLPMG25

山东华睿科技有限公司

宋相文

山东省-临沂市

44

91371302MA3CE89D58

山东动视智能科技有限公司

贺贝贝

山东省-临沂市

45

91371300090685268Y

山东众博智能科技有限公司

王帅一

山东省-临沂市


发表评论
评论通过审核后显示。