山东省枣庄市电子与智能化工程专业承包二级(2021)

2021-04-23 00:25:00
Amber
原创
4393

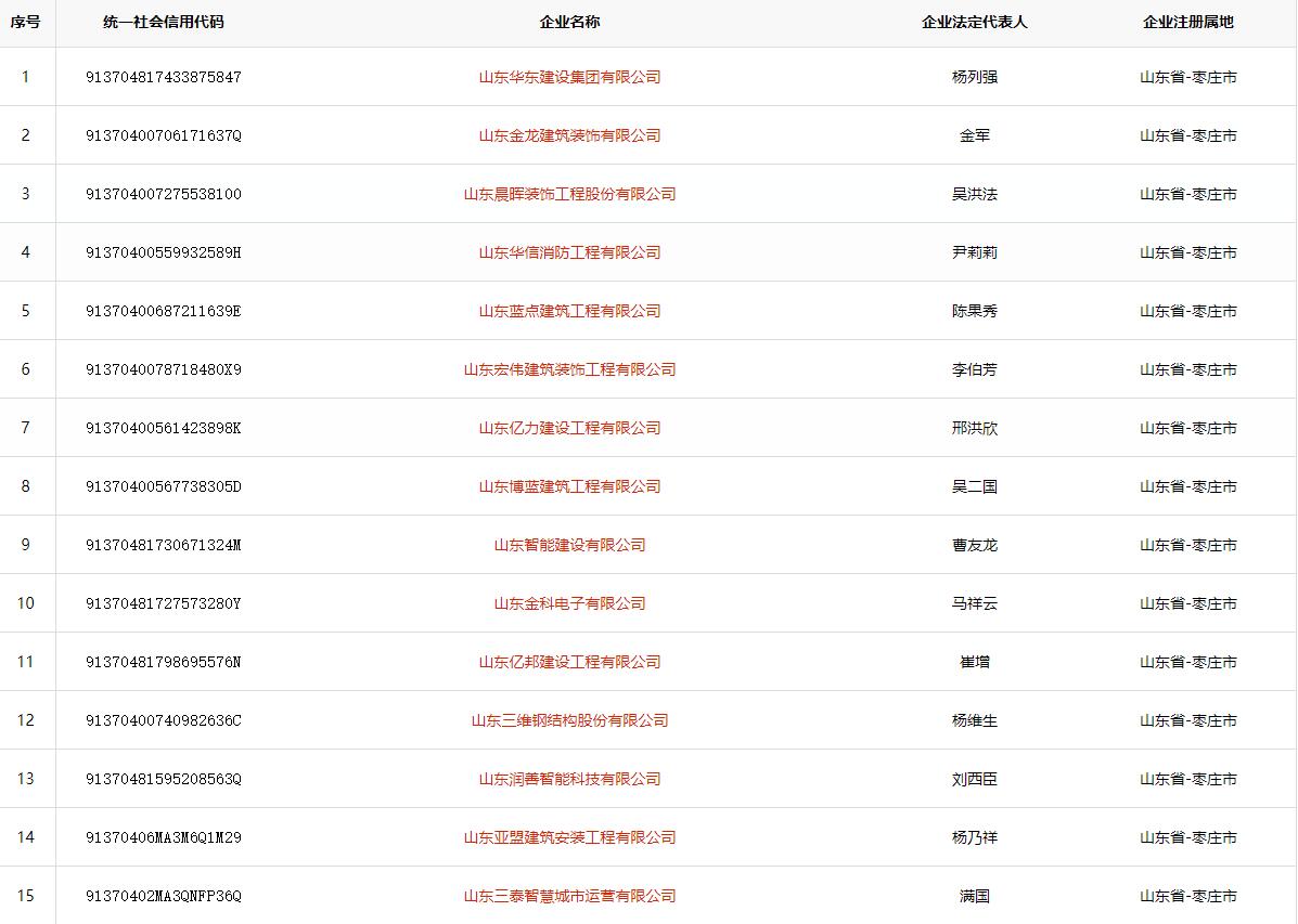
山东省·电子与智能化工程专业承包二级(枣庄)

1

913704817433875847

山东华东建设集团有限公司

杨列强

山东省-枣庄市

2

91370400706171637Q

山东金龙建筑装饰有限公司

金军

山东省-枣庄市

3

913704007275538100

山东晨晖装饰工程股份有限公司

吴洪法

山东省-枣庄市

4

91370481696855727E

滕州市长兴建设工程有限公司

张喜玲

山东省-枣庄市

5

91370400559932589H

山东华信消防工程有限公司

尹莉莉

山东省-枣庄市

6

91370400720764746Q

枣庄市盛坛消防工程安装有限公司

张山东

山东省-枣庄市

7

91370400687211639E

山东蓝点建筑工程有限公司

陈果秀

山东省-枣庄市

8

91370481780758823Y

滕州市智星电力电子工程有限公司

马涛

山东省-枣庄市

9

9137048173579303XJ

滕州市远大安装装璜有限责任公司

吴振峰

山东省-枣庄市

10

91370481689467208F

滕州市腾飞建设安装工程有限公司

钟锋

山东省-枣庄市

11

9137040078718480X9

山东宏伟建筑装饰工程有限公司

李伯芳

山东省-枣庄市

12

91370400561423898K

山东亿力建设工程有限公司

邢洪欣

山东省-枣庄市

13

913704047574937169

枣庄市品源建筑工程有限公司

李壮

山东省-枣庄市

14

91370400567738305D

山东博蓝建筑工程有限公司

吴二国

山东省-枣庄市

15

91370481730671324M

山东智能建设有限公司

曹友龙

山东省-枣庄市

16

91370481727573280Y

山东金科电子有限公司

马祥云

山东省-枣庄市

17

91370481798695576N

山东亿邦建设工程有限公司

崔增

山东省-枣庄市

18

91370400740982636C

山东三维钢结构股份有限公司

杨维生

山东省-枣庄市

19

690640696

枣庄市泰科建筑工程安装有限公司

吕志奇

山东省-枣庄市

20

91370400746562747H

山东维卓信息科技有限公司

孔维卓

山东省-枣庄市

21

91370481595208563Q

山东润善智能科技有限公司

刘西臣

山东省-枣庄市

22

91370406MA3M6Q1M29

山东亚盟建筑安装工程有限公司

杨乃祥

山东省-枣庄市

23

91370402MA3QNFP36Q

山东三泰智慧城市运营有限公司

满国

山东省-枣庄市


发表评论
评论通过审核后显示。