山东省东营市电子与智能化工程专业承包二级(2021)

2021-04-23 00:11:00
Amber
原创
5661
摘要:2021年(截止04月23日)东营市电子与智能化专业承包二级公司名单!信息来源:国家住建局

山东省·电子与智能化工程专业承包二级(东营)

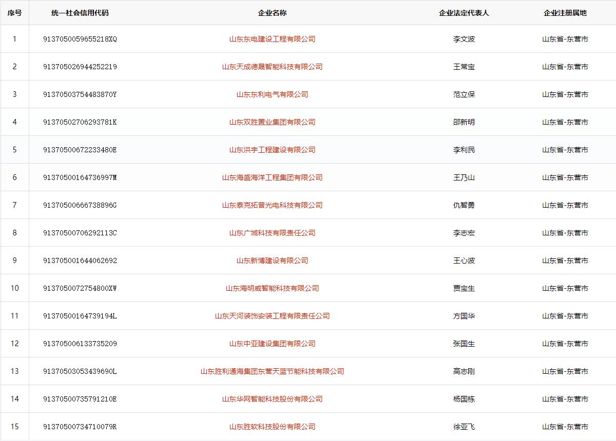
1 9137050059655218XQ 山东东电建设工程有限公司 李文波 山东省-东营市

2 913705026944252219 山东天成德晟智能科技有限公司 王常宝 山东省-东营市

3 91420112587958225H 东营汇筑建筑工程有限公司 崔志祥 山东省-东营市

4 91370503728632916T 胜利油田桩西鑫新设备安装工程有限责任公司 王宏伟 山东省-东营市

5 91370503754483870Y 山东东利电气有限公司 范立保 山东省-东营市

6 91370502706293781K 山东双胜置业集团有限公司 邵新明 山东省-东营市

7 91370503746555731C 东营汇安高科电子有限责任公司 周素芹 山东省-东营市

8 91370500672233480E 山东洪宇工程建设有限公司 高清江 山东省-东营市

9 91370500164736997M 山东海盛海洋工程集团有限公司 许凤雪 山东省-东营市

10 91370500666738896G 山东泰克拓普光电科技有限公司 仇智勇 山东省-东营市

11 91370500706292113C 山东广域科技有限责任公司 李志宏 山东省-东营市

12 913705001644062692 山东新博建设有限公司 王心波 山东省-东营市

13 9137050072754800XW 山东海明威智能科技有限公司 贾宝生 山东省-东营市

14 91370500164739194L 山东天河装饰安装工程有限责任公司 方国华 山东省-东营市

15 91370500737203443E 东营市东胜星源工程安装有限责任公司 潘敏勇 山东省-东营市

16 913705027752786655 东营视通网络科技有限公司 宋桂兰 山东省-东营市

17 91370500793937599M 东营长江建设有限公司 崔金周 山东省-东营市

18 91370500733697474Q 胜利油田东强设备安装工程有限责任公司 吕新军 山东省-东营市

19 913705006133735209 山东中亚建设集团有限公司 张国生 山东省-东营市

20 913705007433666955 胜利油田瑞祥电气有限责任公司 唐永建 山东省-东营市

21 91370502675528479W 东营格瑞电子科技有限公司 吴学营 山东省-东营市

22 91370503706169633Y 东营富海建筑安装有限公司 周福生 山东省-东营市

23 91370503053439690L 山东胜利通海集团东营天蓝节能科技有限公司 高志刚 山东省-东营市

24 91370500735791210E 山东华网智能科技股份有限公司 杨国栋 山东省-东营市

25 91370502754498327G 东营市杰杰装饰科技有限公司 李志杰 山东省-东营市

26 91370500734710079R 山东胜软科技股份有限公司 徐亚飞 山东省-东营市

27 913705026781086213 山东华多智能技术有限公司 张贵 山东省-东营市

28 913705006944084058 山东翔云建筑工程有限公司 付兆斌 山东省-东营市

29 9137050074023534XM 胜利油田豪威科工贸有限责任公司 王克江 山东省-东营市

30 913705006832104952 山东云锦成智能科技有限公司 张惠 山东省-东营市

31 913705005716738748 山东新宁自动化科技有限公司 任振宁 山东省-东营市

32 91370500074433730P 山东宏和信息技术有限公司 秦磊磊 山东省-东营市

33 91370502053429580P 山东大成电子科技有限公司 崔洪涛 山东省-东营市

34 913705027986834449 山东凯讯电子科技有限公司 李小丹 山东省-东营市

35 9137050067051756XL 山东融达智能工程有限公司 李军 山东省-东营市

36 913705003346618883 山东大明信息科技有限公司 李家健 山东省-东营市

37 91370500613373299B 山东惠通科技有限公司 韩国星 山东省-东营市

38 91370502MA3C569N22 山东龙尚石油科技有限责任公司 曲玉岭 山东省-东营市

39 913705023344545711 山东合能科技有限责任公司 徐晓燕 山东省-东营市

40 913705024938038042 山东立尔智能科技有限公司 李芳 山东省-东营市

41 91370502MA3QGMJ47J 山东路盛建设有限公司 杨卫家 山东省-东营市

42 91370502785018437B 山东华岳电力技术有限公司 张燕辉 山东省-东营市

43 91370502MA3BYLPY2X 山东讯源通信工程有限责任公司 巴立亭 山东省-东营市

44 91370502762878979E 山东腾霄网络科技有限公司 张树斌 山东省-东营市

45 913705007884532580 山东卓智软件股份有限公司 刘方亮 山东省-东营市

46 91370502099664885M 东营市乾诚伟业智能工程有限公司 张佳伟 山东省-东营市

47 91370500MA3D4JWCXU 山东浩航网络科技有限公司 李军波 山东省-东营市

48 91370502082966510N 山东臻瑜建设工程有限公司 吴兵 山东省-东营市

49 91370500745698650B 山东天元信息技术集团有限公司 赵华刚 山东省-东营市

50 91370500328471439K 山东云通信息科技股份有限公司 李维波 山东省-东营市

51 91370502MA3UJGRJ4J 山东长龙科技发展有限公司 张建涛 山东省-东营市



发表评论
评论通过审核后显示。