山东省日照市电子与智能化工程专业承包二级(2021)

2021-04-23 00:09:00
Amber
原创
5740
摘要:2021年(截止04月23日)日照市电子与智能化专业承包二级公司名单!信息来源:国家住建局

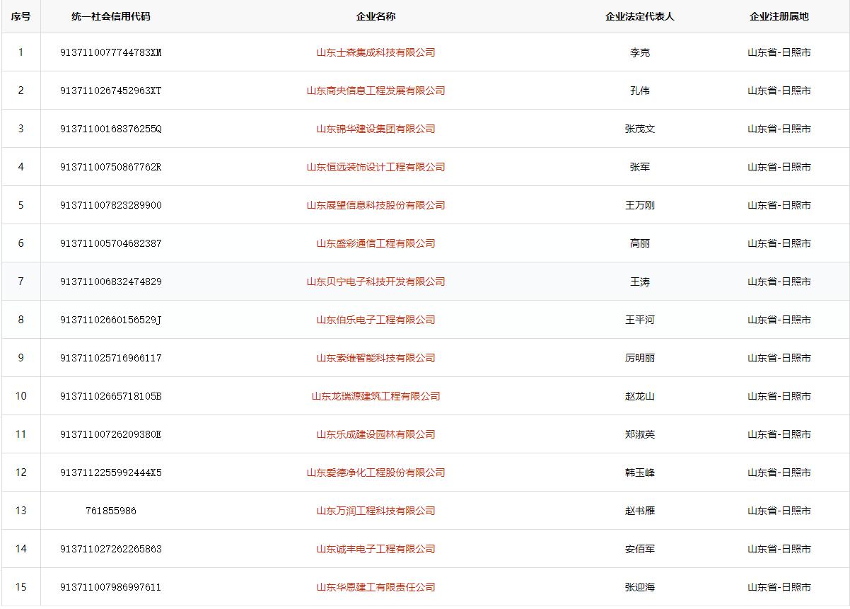
山东省·电子与智能化工程专业承包二级(日照)

1

9137110077744783XM

山东士森集成科技有限公司

李克

山东省-日照市

2

91371102552226112F

日照市腾冉科贸有限公司

王勇

山东省-日照市

3

9137110267452963XT

山东商央信息工程发展有限公司

孔伟

山东省-日照市

4

91371100168376255Q

山东锦华建设集团有限公司

张茂文

山东省-日照市

5

91371100750867762R

山东恒远装饰设计工程有限公司

张军

山东省-日照市

6

913711007823289900

山东展望信息科技股份有限公司

王万刚

山东省-日照市

7

913711005704682387

山东盛彩通信工程有限公司

高丽

山东省-日照市

8

913711006832474829

山东贝宁电子科技开发有限公司

王涛

山东省-日照市

9

91371102660156529J

山东伯乐电子工程有限公司

王平河

山东省-日照市

10

91371122583078888C

日照天美医疗器械有限公司

田洪祥

山东省-日照市

11

913711025716966117

山东索维智能科技有限公司

厉明丽

山东省-日照市

12

913711007554306821

奥新建设科技有限公司

齐乃新

山东省-日照市

13

91371102665718105B

山东龙瑞源建筑工程有限公司

赵龙山

山东省-日照市

14

913711005913859849

日照海韵装饰设计工程有限公司

厉秀

山东省-日照市

15

91371100726209380E

山东乐成建设园林有限公司

郑淑英

山东省-日照市

16

91371102792481323D

日照前沿商务科技有限公司

牟萍

山东省-日照市

17

913711007498988875

日照北方设备安装有限公司

郑秀红

山东省-日照市

18

761855986

山东万润工程科技有限公司

赵书雁

山东省-日照市

19

913711027262265863

山东诚丰电子工程有限公司

安佰军

山东省-日照市

20

91371100750895413F

日照港通通信工程有限公司

张文军

山东省-日照市

21

91371102552241400L

日照京扬智能电子科技有限公司

张永富

山东省-日照市

22

913711007986997611

山东华恩建工有限责任公司

张迎海

山东省-日照市

23

9137110072070660X3

山东德丰装饰集团有限公司

刘相太

山东省-日照市

24

913711225845087632

日照市华兴医疗器械有限公司

薛彦堂

山东省-日照市

25

91371100699655632A

日照海蓝装饰工程有限公司

马祖芹

山东省-日照市

26

91371100687217854L

山东匹克建筑装饰有限公司

滕启寿

山东省-日照市

27

91371100614079462F

日照银华建设工程有限公司

方作勇

山东省-日照市

28

91371102586074989U

日照永泰智能电子科技有限公司

朱建军

山东省-日照市

29

9137112275541923X6

日照通力建设集团有限公司

王安礼

山东省-日照市

30

91371102MA3DJMX83K

山东华赛工程技术有限公司

秦华

山东省-日照市

31

91371122312824818T

日照爱信医疗设备有限公司

鲁守源

山东省-日照市

32

91371122MA3D8WGJ25

山东斌烨医疗科技有限公司

赵希波

山东省-日照市

33

91371100MA3MJ45H81

山东捷诺医疗工程股份有限公司

田录彬

山东省-日照市

34

91371102MA3F2X6EXT

日照蓝能智能科技有限公司

葛丽丽

山东省-日照市

35

91371102MA3QCYB63A

百纳装饰工程有限公司

戴方迎

山东省-日照市

36

91371102562547737K

山东弘光信息科技有限公司

李永海

山东省-日照市

37

91371122059006941R

山东杰普特净化设备有限公司

李凤杰

山东省-日照市

38

91371102569023856A

日照市泰科信息技术有限公司

吴倩

山东省-日照市

39

91371102MA3F78AL10

日照方凯智能科技工程有限公司

葛华

山东省-日照市

40

91371102MA3U735D4G

山东越德建设工程有限公司

刘凤彩

山东省-日照市

41

91370310MA3U1MX56T

山东辉万建筑工程有限公司

张鑫杰

山东省-日照市

42

91371102MA3U3MWY84

日照泊铭建筑工程有限公司

林秀军

山东省-日照市


发表评论
评论通过审核后显示。