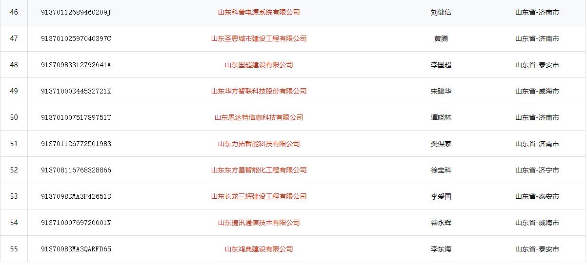
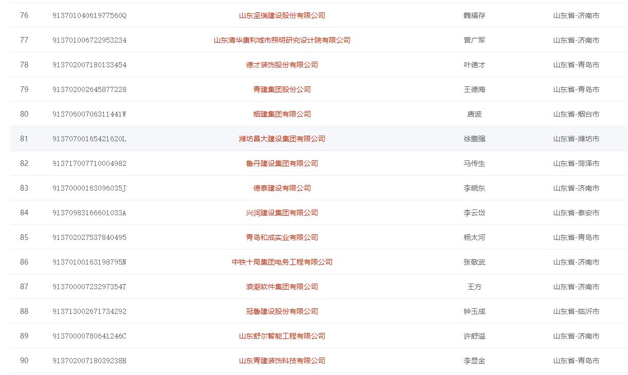
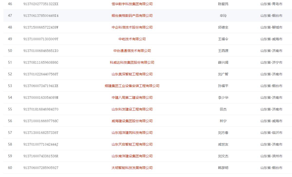
山东省·电子与智能化工程专业承包一级(资质)最新2021

2021-04-23
Amber
原创
11858
摘要:2021年(截止04月23日)山东省电子与智能化专业承包一级公司名单!信息来源:国家住建局

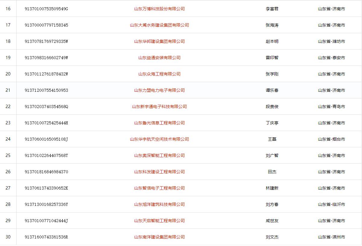
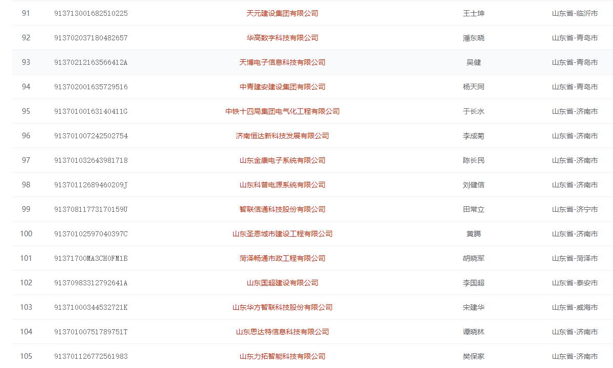
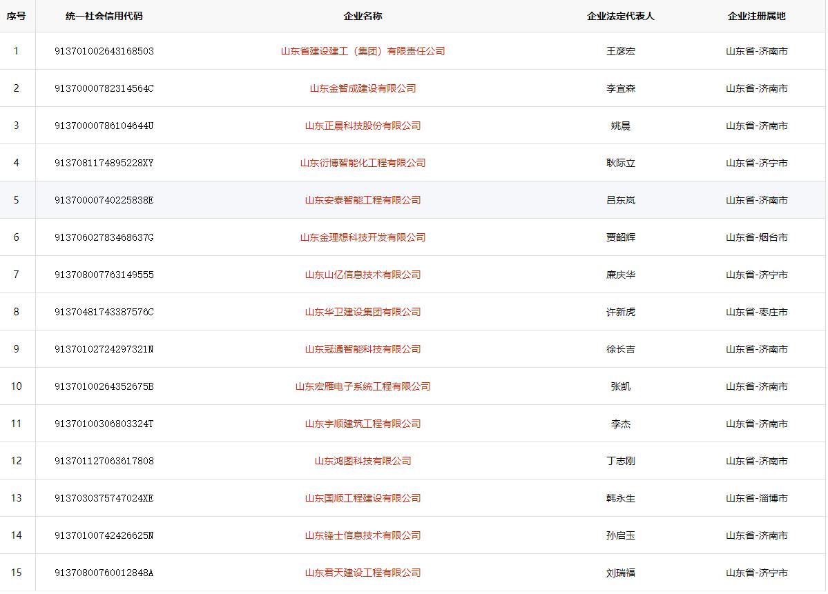
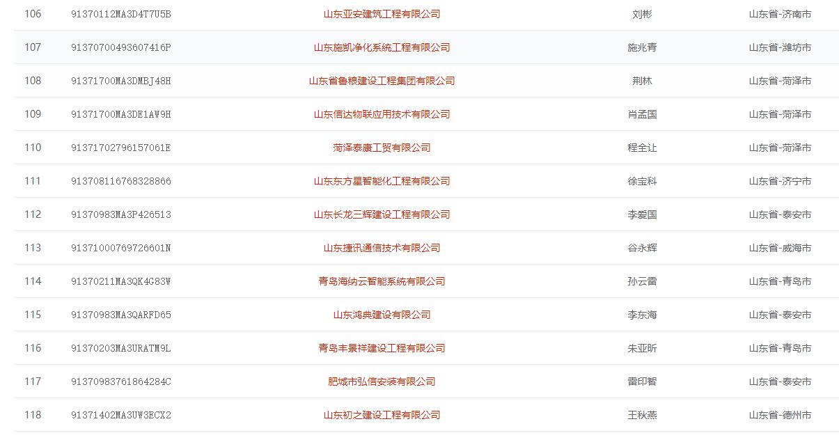
山东省·电子与智能化工程专业承包一级(资质)


山东省·电子与智能化工程专业承包一级(资质)最新2021

截止2021年04月23日









相对往年少了一些熟悉的公司,估计是掉入二级了


发表评论
评论通过审核后显示。