山东省淄博市电子与智能化工程专业承包二级(2021)

2021-04-23 00:38:00
Amber
原创
5039
摘要:2021年(截止04月23日)淄博市电子与智能化专业承包二级公司名单!信息来源:国家住建局

山东省·电子与智能化工程专业承包二级(淄博)

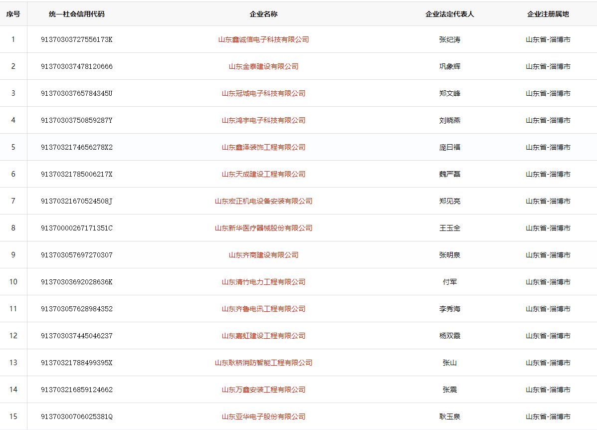
1

91370303727556173K

山东鑫诚信电子科技有限公司

张纪涛

山东省-淄博市

2

91370305265130046Y

山东鲁信建设有限公司

赵有光

山东省-淄博市

3

913703037478120666

山东金泰建设有限公司

巩象辉

山东省-淄博市

4

91370321164426921F

金瀚建设有限公司

张林

山东省-淄博市

5

91370303765784345U

山东冠城电子科技有限公司

郑文峰

山东省-淄博市

6

91370303750859287Y

山东鸿宇电子科技有限公司

刘晓燕

山东省-淄博市

7

9137032174656278X2

博琳智能科技工程(山东)有限公司

庞曰福

山东省-淄博市

8

91370321785006217X

山东天成建设工程有限公司

魏严磊

山东省-淄博市

9

91370321670524508J

山东宏正机电设备安装有限公司

郑见亮

山东省-淄博市

10

91370000267171351C

山东新华医疗器械股份有限公司

王玉全

山东省-淄博市

11

91370303692028636K

山东清竹电力工程有限公司

付军

山东省-淄博市

12

913703057628984352

山东齐鲁电讯工程有限公司

李秀海

山东省-淄博市

13

913703057636665050

淄博市临淄恒立电器有限公司

潘光明

山东省-淄博市

14

913703037445046237

山东嘉虹建设工程有限公司

杨双霞

山东省-淄博市

15

91370321788499395X

山东耿桥消防智能工程有限公司

张山

山东省-淄博市

16

91370500597804545N

山东澳沣建设工程有限公司

赵有锋

山东省-淄博市

17

913703216859124662

山东万鑫安装工程有限公司

张震

山东省-淄博市

18

91370300706025381Q

山东亚华电子股份有限公司

耿玉泉

山东省-淄博市

19

91370300073029103L

山东龙麒电气工程股份有限公司

赵文奇

山东省-淄博市

20

91370303755437550X

淄博诚安电力自动化工程有限公司

沈诚健

山东省-淄博市

21

91370303MA3CDJ2N7J

山东锐翊电力工程有限公司

宋斌

山东省-淄博市

22

91370303674528717F

山东联腾电子科技有限公司

郑观永

山东省-淄博市

23

91370303764805677U

山东双百电子有限公司

侯学文

山东省-淄博市

24

91370321MA3CBPXT9W

山东思达智能科技有限公司

巩富贤

山东省-淄博市

25

91370303758286989G

山东超杰信息科技有限公司

荣洋

山东省-淄博市

26

91370305MA3CKYQ51D

山东爱特云翔信息技术有限公司

闫志卿

山东省-淄博市

27

91370305MA3NL6N43B

山东齐炼石化工程有限公司

周海建

山东省-淄博市

28

91370303558923154P

淄博明致电子科技有限公司

尹明

山东省-淄博市

29

91370302164196425D

淄博祥龙测控技术有限公司

白念祥

山东省-淄博市

30

9137030334929219XK

山东卓汇智能科技有限公司

闫丽

山东省-淄博市

31

91370303MA3U83T06L

淄博正冠建筑工程有限公司

刘振廷

山东省-淄博市

32

91370303684813503L

山东通广电子有限公司

韩桂芬

山东省-淄博市

33

91370303MA3C658U6J

淄博智臣电气科技有限公司

王允臣

山东省-淄博市

34

91370303MA3W08D304

山东聚宸智能科技有限公司

刘兆臣

山东省-淄博市

35

91370303764802708P

山东乾之元智能科技有限公司

李亮

山东省-淄博市


发表评论
评论通过审核后显示。