山东省威海市电子与智能化工程专业承包二级(2021)

2021-04-23 00:41:00
Amber
原创
5452
摘要:2021年(截止04月23日)威海市电子与智能化专业承包二级公司名单!信息来源:国家住建局


山东省·电子与智能化工程专业承包二级(威海)

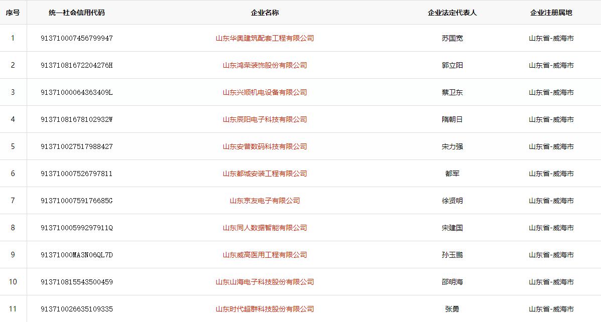
1

91371000738186673N

山东富康科技工程有限公司

康英才

山东省-威海市

2

913710007456799947

山东华奥建筑配套工程有限公司

苏国宽

山东省-威海市

3

91371081672204276H

山东鸿荣装饰股份有限公司

冯胜波

山东省-威海市

4

913710002642029330

威海泰浩建设集团有限公司

王建华

山东省-威海市

5

91371000064363409L

山东兴顺机电设备有限公司

蔡卫东

山东省-威海市

6

755444638

威海市机械建筑安装有限公司

侯建波

山东省-威海市

7

91371000678136278M

威海恒坤建筑工程有限公司

衣长学

山东省-威海市

8

91371081678102932W

山东辰阳电子科技有限公司

隋朝日

山东省-威海市

9

913710027517988427

山东安普数码科技有限公司

宋力强

山东省-威海市

10

913710007526797811

山东都城安装工程有限公司

都军

山东省-威海市

11

91371002564088351W

威海利源建筑工程有限公司

刘炜

山东省-威海市

12

913710007526725044

威海东力安装工程有限公司

徐炳荣

山东省-威海市

13

91371000759176685G

山东京友电子有限公司

孙铭心

山东省-威海市

14

91371000062959129C

威海威高海盛医用设备有限公司

王毅

山东省-威海市

15

91371000706232348E

威海利达行装饰有限公司

刘恒学

山东省-威海市

16

726217778

威海三顺安装工程有限公司

宋玉强

山东省-威海市

17

91371000267175387B

威海北洋电气集团股份有限公司

陈福旭

山东省-威海市

18

913710003345726231

中多建设有限公司

王静荣

山东省-威海市

19

91371000MA3N06QL7D

山东威高医用工程有限公司

孙玉鹏

山东省-威海市

20

913710815543500459

山东山海电子科技股份有限公司

邵明海

山东省-威海市

21

913710816882914588

威海鸿基电子科技有限公司

林英军

山东省-威海市

22

913710026635109335

山东时代超群科技股份有限公司

张勇

山东省-威海市

23

91371000663504293U

威海威高电子工程有限公司

丛云龙

山东省-威海市

24

91371000MA3UQDXK0C

山东斤每建筑工程有限公司

崔本鑫

山东省-威海市


发表评论
评论通过审核后显示。