山东省德州市电子与智能化工程专业承包二级(2021)

2021-04-23 00:41:00
Amber
原创
4871
摘要:2021年(截止04月23日)德州市电子与智能化专业承包二级公司名单!信息来源:国家住建局

山东省·电子与智能化工程专业承包二级(德州)

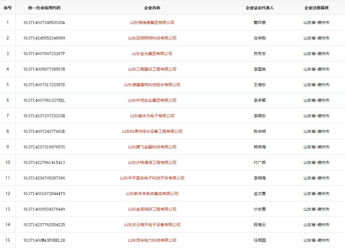
1

91371400724953026A

山东格瑞德集团有限公司

管印贵

山东省-德州市

2

91371400613871888Y

德州中傲空调设备有限公司

王洪斐

山东省-德州市

3

91371400167305586U

德州亚太集团有限公司

杨东堂

山东省-德州市

4

91371424167653070L

胜利油田德利实业有限责任公司

刘军

山东省-德州市

5

913714245552348989

山东亚明照明科技有限公司

庄申刚

山东省-德州市

6

91371400795302327M

中通顺昌建设有限公司

王玉玺

山东省-德州市

7

91371400769723267P

山东金光集团有限公司

苏芳志

山东省-德州市

8

91371400567738567H

山东三宸建设工程有限公司

李国良

山东省-德州市

9

91371400731722357D

山东德建建筑科技股份有限公司

李金林

山东省-德州市

10

9137140070612278XL

山东中茂实业集团有限公司

李多智

山东省-德州市

11

913714007254404687

中大空调集团有限公司

吴留明

山东省-德州市

12

91371423720723223H

山东省庆元电子有限公司

李跟东

山东省-德州市

13

913714005793915648

瑞冬集团股份有限公司

张庆荣

山东省-德州市

14

91371400724277662E

山东科源供排水设备工程有限公司

张会明

山东省-德州市

15

91371400661964624F

德州远博建筑安装有限公司

李建军

山东省-德州市

16

91371423731697657G

山东腾飞金融科技有限公司

杨荣海

山东省-德州市

17

913714227861415413

山东伏特通信工程有限公司

付广英

山东省-德州市

18

913714236705287366

山东中平国安电子科技开发有限公司

李明海

山东省-德州市

19

913714001672844479

山东新未来系统集成有限公司

金文勇

山东省-德州市

20

913714000534376449

山东金泽消防工程有限公司

沙志勇

山东省-德州市

21

913714237763354225

山东庆云海天电子设备有限公司

段海云

山东省-德州市

22

91371400MA3FDHKL28

山东茂华电力科技有限公司

任相国

山东省-德州市

23

91371423050941861E

山东欧泰电子有限公司

侯宝星

山东省-德州市

24

91371425MA3CALHB3L

山东弘安智能安防工程有限公司

窦光委

山东省-德州市

25

91371400695446905J

德州路通电子器材有限公司

张新波

山东省-德州市

26

91371482MA3FFK1W0T

山东中奎建锦建筑安装工程有限公司

王松

山东省-德州市

27

91371402MA3UR6NN87

山东澳舟建筑工程有限公司

祭增霄

山东省-德州市


发表评论
评论通过审核后显示。