山东泰安市电子与智能化工程专业承包二级(2021)

2021-04-23 00:46:00
Amber
原创
5242
摘要:2021年(截止04月23日)泰安市电子与智能化专业承包二级公司名单!信息来源:国家住建局

山东省·电子与智能化工程专业承包二级(泰安)

1

913709831666085502

信邦建设集团有限公司

王琦

山东省-泰安市

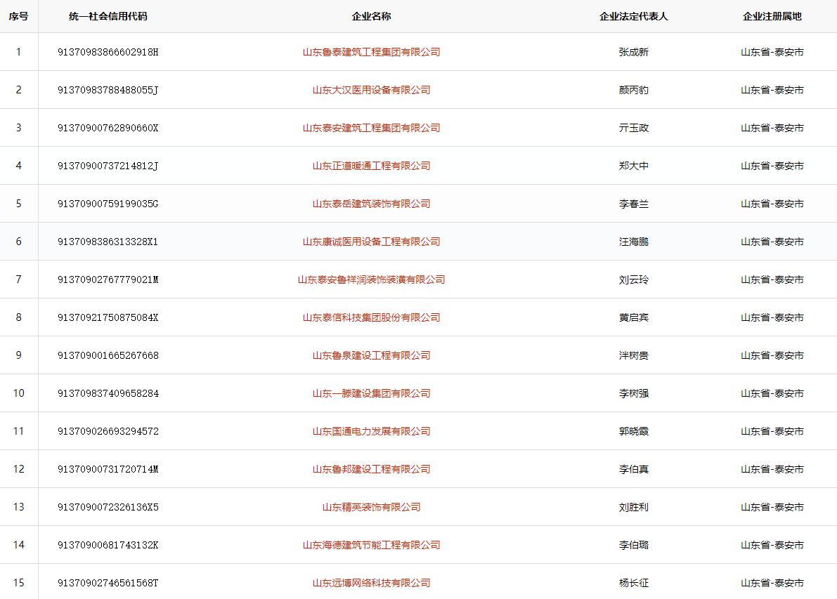
2

91370983866602918H

山东鲁泰建筑工程集团有限公司

张成新

山东省-泰安市

3

730645927

泰安鲁润装饰装潢有限责任公司

王舸

山东省-泰安市

4

91370983788488055J

山东大汉医用设备有限公司

颜丙豹

山东省-泰安市

5

91370902064394328B

泰安市恒丰装饰工程有限公司

乔福雷

山东省-泰安市

6

91370900762890660X

山东泰安建筑工程集团有限公司

亓玉政

山东省-泰安市

7

91370900746567767H

鲁京建设工程有限公司

石兰英

山东省-泰安市

8

91370900690639791M

国宏消防工程集团有限公司

周日华

山东省-泰安市

9

91370900759199035G

山东泰岳建筑装饰有限公司

李春兰

山东省-泰安市

10

9137090078234718XG

泰安市正大建筑工程有限公司

陈来生

山东省-泰安市

11

9137098386313328X1

山东康诚医用设备工程有限公司

汪海鹏

山东省-泰安市

12

91370902767779021M

山东泰安鲁祥润装饰装潢有限公司

刘云玲

山东省-泰安市

13

91370900755435256L

泰安联众建筑装饰有限公司

边炳元

山东省-泰安市

14

913709837262313422

肥城市天泽装饰有限公司

范士军

山东省-泰安市

15

91370900726219968U

山东华威装饰有限公司

李建

山东省-泰安市

16

91370921750875084X

山东泰信科技集团股份有限公司

黄启宾

山东省-泰安市

17

913709001665267668

山东鲁泉建设工程有限公司

泮树贵

山东省-泰安市

18

913709837409658284

山东一滕建设集团有限公司

李树强

山东省-泰安市

19

913709026693294572

山东国通电力发展有限公司

郭晓霞

山东省-泰安市

20

91370900731720714M

山东鲁邦建设工程有限公司

李伯真

山东省-泰安市

21

9137090072326136X5

山东精英装饰有限公司

刘胜利

山东省-泰安市

22

91370900730651120X

普瑞特机械制造股份有限公司

范伟国

山东省-泰安市

23

91370983762885108P

肥城宏远建设有限公司

徐胜刚

山东省-泰安市

24

91370900681743132K

山东海德建筑节能工程有限公司

李伯璐

山东省-泰安市

25

91370902746561568T

山东远博网络科技有限公司

杨长征

山东省-泰安市

26

9137090016645060XW

泰安市雅士阁装饰工程有限公司

张宪荣

山东省-泰安市

27

913709007666506564

山东宇兴建设有限公司

王兴东

山东省-泰安市

28

913709007720830102

山东华煜建设集团有限公司

王艳

山东省-泰安市

29

91370900720738345E

山东华龙建筑安装有限公司

李圣群

山东省-泰安市

30

9137090031273146XT

山东国瑞消防科技有限公司

桑潘

山东省-泰安市

31

91370900723258531H

泰安市神舟交通器材有限公司

周广河

山东省-泰安市

32

91370000061991960L

山东新矿信息技术有限公司

袁清国

山东省-泰安市

33

91370902730641010C

泰安市力天新元科贸有限公司

郑民

山东省-泰安市

34

91370902062974417G

泰安沃达建筑安装工程有限公司

辛国栋

山东省-泰安市

35

91370900MA3CMXWX7E

山东荣艺建设工程有限公司

侯卫龙

山东省-泰安市

36

91370902MA3TN8NG3K

许州科技(山东)有限公司

苏利凯

山东省-泰安市

37

91370902MA3LYRX00T

泰山信息科技有限公司

崔海东

山东省-泰安市

38

91370900775278577E

山东泰山腾达通讯工程有限公司

李春亮

山东省-泰安市

39

91370902774167963W

山东正大电器安装工程有限公司

李广永

山东省-泰安市

40

913709830980551807

山东鸣迅智能科技有限公司

吴斌

山东省-泰安市


发表评论
评论通过审核后显示。