山东省滨州市电子与智能化工程专业承包二级(2021)

2021-04-23 00:52:00
Amber
原创
4809
摘要:2021年(截止04月23日)滨州市电子与智能化专业承包二级公司名单!信息来源:国家住建局

山东省·电子与智能化工程专业承包二级(滨州)

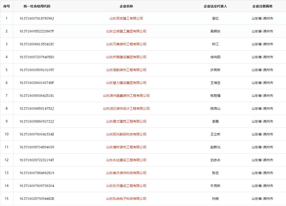
1

91371600761878096J

山东百宏建工有限公司

李红

山东省-滨州市

2

91371600552223667P

山东立岳建工集团有限公司

吴辉东

山东省-滨州市

3

9137160066135341XC

山东万美装饰工程有限公司

林江

山东省-滨州市

4

9137160072076405X0

山东乔雅建设集团有限公司

徐向阳

山东省-滨州市

5

91371600050910109T

山东恒韵装饰工程有限公司

许英彬

山东省-滨州市

6

91371602660163745F

山东慧力建设集团有限公司

王培忠

山东省-滨州市

7

913716005936425181

山东滨州盛鑫装饰工程有限公司

张胜强

山东省-滨州市

8

91371600670528955G

滨州恒钧机电安装有限公司

宋雷先

山东省-滨州市

9

91371600685914752J

山东润亿装饰设计工程有限公司

姚克山

山东省-滨州市

10

91371600586092722J

山东昊文建筑工程有限公司

李鹏

山东省-滨州市

11

91371600760041534X

山东阳光数码科技有限公司

王立彬

山东省-滨州市

12

91371600166903402N

胜利油田华滨福利机电有限责任公司

李峰

山东省-滨州市

13

913716005704594039

山东博林装饰工程有限公司

赵新光

山东省-滨州市

14

91371602672231194T

山东永达建设工程有限公司

刘志永

山东省-滨州市

15

913716007884662519

山东南方装饰科技有限公司

张忠

山东省-滨州市

16

91371600765773160L

京风建设工程有限公司

石亮

山东省-滨州市

17

91371600727550070R

滨州视听电子有限公司

胥国良

山东省-滨州市

18

913716007609736304

山东东方建设工程有限公司

牛克彬

山东省-滨州市

19

91371602579394482B

山东弘尚电子科技有限公司

孙锐

山东省-滨州市

20

9137160068825530X1

山东宝辰大数据服务有限公司

张曼琦

山东省-滨州市

21

91371600676812009E

山东红九洲装饰工程有限公司

耿捍卫

山东省-滨州市

22

91371600789251850D

山东安邦智能科技有限公司

王素琴

山东省-滨州市

23

91371602MA3C90YL06

山东九维电气有限公司

王栋树

山东省-滨州市

24

913716236635045330

山东畅达技术有限公司

范本芹

山东省-滨州市

25

91371602MA3DPQJ020

山东立道建设有限公司

崔动滨

山东省-滨州市

26

91371602MA3D4A3F5B

山东网格工程有限公司

孙世军

山东省-滨州市

27

9137162655788857XX

山东昊润自动化技术有限公司

郭玉肖

山东省-滨州市

28

91371602797342330K

滨州市国辰科技有限公司

张同恩

山东省-滨州市

29

91371602588773986K

山东安博智能科技有限公司

王宇洲

山东省-滨州市

30

913716025567025694

山东荣威电子科技有限公司

司忠伦

山东省-滨州市


31

91371600MA3R9QB4XM

滨州智慧城市运营有限公司

窦晨光

山东省-滨州市

32

91371602676845097B

滨州市金都电脑科技有限公司

李海亭

山东省-滨州市

33

91371600MA3RT41L43

山东匠心科技有限公司

于子豪

山东省-滨州市



发表评论
评论通过审核后显示。