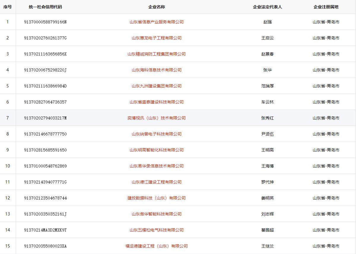
山东省青岛市电子与智能化工程专业承包二级(2021)

2021-04-23 01:03:00
Amber
原创
9019
摘要:2021年(截止04月23日)青岛市电子与智能化专业承包二级公司名单!信息来源:国家住建局


山东省·电子与智能化工程专业承包二级(青岛)

1 91370202713721895Y 青岛熙来工业工程有限公司 刘雪琴 山东省-青岛市

2 91370203690347000A 青岛和联消防科技有限公司 杜联合 山东省-青岛市

3 9137021179082517XX 青岛中筑置业有限公司 徐奎学 山东省-青岛市

4 91370202770275342L 浩越(青岛)建设电力工程有限公司 王玲 山东省-青岛市

5 91370202760261377G 山东惠龙电子工程有限公司 王启云 山东省-青岛市

6 9137021367526109X9 青岛东建建设有限公司 姜秀常 山东省-青岛市

7 91370211773538670L 青岛亿佰建工集团有限公司 贾茂勇 山东省-青岛市

8 91370200706419487B 青岛新华友建工集团股份有限公司 于忠福 山东省-青岛市

9 91370200713725976M 青岛高校信息产业股份有限公司 杜长河 山东省-青岛市

10 91370200163610864H 青岛石化检修安装工程有限责任公司 姜勇先 山东省-青岛市

11 9137020074721922X7 青岛飞宇建设集团有限公司 张少亮 山东省-青岛市

12 91370211163656856X 山东精诚消防工程集团有限公司 赵景春 山东省-青岛市

13 91370212733515001F 青岛民航凯亚系统集成有限公司 陈罡 山东省-青岛市

14 91370282163978943R 青岛嘉和建造有限公司 于可淑 山东省-青岛市

15 91370200614302548D 青岛华盛昌工程有限公司 于万麟 山东省-青岛市

16 91370211780373720A 青岛前盛业建设工程有限公司 范学增 山东省-青岛市

17 913702117180571618 青岛彩虹智能系统有限公司 刘飞 山东省-青岛市

18 91370200675298220J 山东海科信息技术有限公司 张华 山东省-青岛市

19 91370212667877011Q 青岛锦上科技发展有限公司 江世文 山东省-青岛市

20 91370282561157737F 青岛金硕建设集团有限公司 孙成林 山东省-青岛市

21 91370203706426716F 青岛广和通建设工程有限公司 崔学义 山东省-青岛市

22 91370202264576409Q 青岛阳光电器工程有限公司 赵建纲 山东省-青岛市

23 91370200264609776W 青岛建设消防工程有限公司 李凤 山东省-青岛市

24 91370200725591063T 中嘉建盛建工集团有限公司 李辉 山东省-青岛市

25 91370200264587183F 青岛安装建设股份有限公司 王栋 山东省-青岛市

26 9137021316382854XC 青岛楼山消防工程集团有限公司 刘欣传 山东省-青岛市

27 91370211740359430X 青岛丰泽鑫装饰工程有限公司 卢侃 山东省-青岛市

28 91370203718054913E 青岛成城工程有限公司 李修诚 山东省-青岛市

29 91370211163704483E 青岛宇通消防科技有限公司 王成武 山东省-青岛市

30 9137021167909759XY 青岛振业建筑工程有限公司 徐雪芹 山东省-青岛市

31 91370211763600063A 青岛恒辉建设集团有限公司 惠春晓 山东省-青岛市

32 91370200737271235G 青岛颐杰鸿利科技有限公司 王文刚 山东省-青岛市

33 91370200706432112G 青岛博海建设集团有限公司 王霄鹏 山东省-青岛市

34 9137021466789281X5 青岛明察电气科技有限公司 纪玉礼 山东省-青岛市

35 91370212264826906C 青岛蓝盾易通安保工程有限公司 李斯笙 山东省-青岛市

36 91370211743955326Y 青岛金原建设集团有限公司 张新兵 山东省-青岛市

37 91370282706471234Y 通广建工集团有限公司 王惠 山东省-青岛市

38 91370285164027103L 荣华建设集团有限公司 孙涌 山东省-青岛市

39 91370200750445420Y 青岛海鹏建筑安装工程有限公司 王文健 山东省-青岛市

40 91370213763642642H 青岛广通电子科技有限公司 陈玉谦 山东省-青岛市

41 91370211163866984D 山东九洲建设集团有限公司 范瑞厚 山东省-青岛市

42 913702827064736357 山东省盛泰建设科技有限公司 车云林 山东省-青岛市

43 91370212743983300H 青岛捷联科技发展有限公司 程云珠 山东省-青岛市

44 91370211664533299G 山东宇通电气集团坤和电力工程有限公司 薛翔天 山东省-青岛市

45 91370211163982272K 青岛万怡东方建设集团有限公司 丁召宪 山东省-青岛市

46 91370200264739589M 青岛海瑞电子工程有限公司 马培瑾 山东省-青岛市

47 913702127569445701 青岛成泰安全技术有限公司 袁俊 山东省-青岛市

48 91370202794033217M 奕博视讯(山东)技术有限公司 张秀红 山东省-青岛市

49 9137021209746074XP 青岛正能电气科技有限公司 董祥密 山东省-青岛市

50 91370200750437965M 青岛瑞安建工集团有限公司 杨学平 山东省-青岛市

51 913702007875668830 青岛国威兴邦实业有限公司 王美云 山东省-青岛市

52 913702146678777750 山东纳普电子科技有限公司 尹贤伍 山东省-青岛市

53 91370211776848914X 青岛中软电子科技有限公司 陈刚 山东省-青岛市

54 913702222647977032 青岛华旭通信工程有限公司 崔明旭 山东省-青岛市

55 913702815685591650 山东明高智能化科技有限公司 王明高 山东省-青岛市

56 91370283766725486E 青岛国信城网建设经营有限公司 朱光兴 山东省-青岛市

57 913702110732981863 青岛智达通电气有限公司 王江先 山东省-青岛市

58 913702127504086462 华东建工集团有限公司 马萧 山东省-青岛市

59 91370203550800053G 青岛盛世华邦信息工程有限公司 李璟 山东省-青岛市

60 913701000548762869 山东易华录信息技术有限公司 王海博 山东省-青岛市

61 91370202568566218E 山东金东数字创意股份有限公司 周安斌 山东省-青岛市

62 91370211073276884N 青岛辰熙智能科技有限公司 张雨桐 山东省-青岛市

63 91370200718045961H 青岛有线电视网络有限公司 王振强 山东省-青岛市

64 91370200730629150F 青岛文达通科技股份有限公司 管延成 山东省-青岛市

65 913702123504678744 建投数据科技(山东)有限公司 姜明英 山东省-青岛市

66 913702030990002881 青岛济泰智能系统有限公司 薛冰 山东省-青岛市

67 91370203350352161J 山东傲华智能科技有限公司 刘志辉 山东省-青岛市

68 91370281MA3CGARF2M 青岛九州汇德新能源有限公司 苏春雨 山东省-青岛市

69 91370214MA3D2MXK9T 山东五棵松电气科技有限公司 綦鹏超 山东省-青岛市

70 91370203564736945K 青岛风华智能科技有限公司 朱德春 山东省-青岛市

71 9137021167178001XG 华夏天信智能物联股份有限公司 汤秦婧 山东省-青岛市

72 91370502MA3CNT083P 山东豪泰电力工程有限公司 路宝瑞 山东省-青岛市

73 91370200682587434K 青岛海信电子设备股份有限公司 汤业国 山东省-青岛市

74 91370222561185615D 青岛蓝湾信息科技有限公司 张天遨 山东省-青岛市

75 91370214MA3R3MWC58 山东威如建设工程有限公司 张培凯 山东省-青岛市

76 913702036142096266 青岛中视资讯工程有限公司 于涛 山东省-青岛市

77 9137020309993788X5 青岛盛世弘邦网络科技有限公司 许静 山东省-青岛市

78 91370211MA3PCBDY16 青岛荣泰开来钢结构工程有限公司 张维科 山东省-青岛市

79 91370212MA3R7WM02F 海尔云城数字科技(青岛)有限公司 董金刚 山东省-青岛市

80 91370281MA3QFR693A 青岛中建兰桂建工有限公司 徐全祥 山东省-青岛市

81 91370200264708731L 青岛东软载波科技股份有限公司 崔健 山东省-青岛市

82 9137020355080023XA 福运德建设工程(山东)有限公司 王继兰 山东省-青岛市

83 91370203MA3MJ7A09Q 数维弘旭(山东)信息科技有限公司 潘戍 山东省-青岛市

84 91370202564731968C 山东研能节能科技有限公司 陈晓彪 山东省-青岛市

85 91370202MA3RN1P12D 山东源邦电力工程有限公司 冷桂美 山东省-青岛市

86 91370211MA3T19N80K 青岛川纳智能科技有限公司 张祥升 山东省-青岛市

87 91370800MA3T1W167A 山东祥辰建筑工程有限公司 马莉娜 山东省-青岛市

88 91370202MA3RL72G4P 青岛树茂智能化工程有限公司 董树茂 山东省-青岛市

89 91370212MA3R2E1TXG 青岛迈帝瑞生态环境科技有限公司 陈斌 山东省-青岛市

90 91370900MA3T3WY84C 青岛基安首创建设工程有限公司 逄振鹏 山东省-青岛市

91 9137020355770825XY 青岛百源视通电子科技有限公司 刘贺 山东省-青岛市

92 91370202MA3FG9LA3A 青岛城市大数据运营有限公司 韩松明 山东省-青岛市

93 91370211MA3CK0KE4B 青岛源昌世纪工程有限公司 陈瑞香 山东省-青岛市

94 91370212MA3R60G28M 青岛国真智慧科技有限公司 曹曼 山东省-青岛市

95 91370211718051683H 青岛金山电子信息科技有限公司 李林文 山东省-青岛市

96 91370214MA3D912U40 青岛胶东空港网络工程有限公司 陈强 山东省-青岛市

97 91370202MA3P0UNW59 山东再起数据科技有限公司 田山 山东省-青岛市

98 91370214MA3U0W269B 青岛中城国建建设有限公司 冯胜荣 山东省-青岛市

99 91370211MA3UBMN81D 青岛港供电有限公司 邹月江 山东省-青岛市

100 91370202550831634K 青岛闻天电气工程有限公司 盛玮 山东省-青岛市

101 91370203MA3U80NE4B 青岛金伙伴电子有限公司 赵媛媛 山东省-青岛市

102 91370202MA3QMJU41L 山东青建智慧建筑科技有限公司 张超 山东省-青岛市

103 91370212099935083R 青岛交通科技信息有限公司 刁文利 山东省-青岛市

104 913702035508398712 青岛茂生元网络工程有限公司 刘相付 山东省-青岛市

105 91370222MA3BX9JQ0D 山东海纳信息技术有限公司 吕彩霞 山东省-青岛市

106 91370202787583552F 青岛华正信息技术股份有限公司 罗桂富 山东省-青岛市

107 91370203MA3T1Q6F6C 青岛颐金装饰科技有限公司 关文龙 山东省-青岛市

108 91370214099463231J 山东海联达工程科技有限公司 方小峰 山东省-青岛市

109 91370211MA3QH8K83B 青岛正信盈通工程有限公司 陈鹏 山东省-青岛市

110 91370211MA3CEGUJX7 青岛浩谦信息科技有限公司 郭树涛 山东省-青岛市

111 91370211591260719N 青岛中昊联网络工程有限公司 张建廷 山东省-青岛市

112 91370202561151159E 青岛阳光氢能科技集团有限公司 贾一超 山东省-青岛市

113 91370222MA3DQT3G5Q 青岛克路德智能科技有限公司 李文科 山东省-青岛市



发表评论
评论通过审核后显示。