山东省济南市电子与智能化工程专业承包二级(2021)

2021-04-23 01:09:00
Amber
原创
14671
摘要:2021年(截止04月23日)济南市电子与智能化专业承包二级公司名单!信息来源:国家住建局

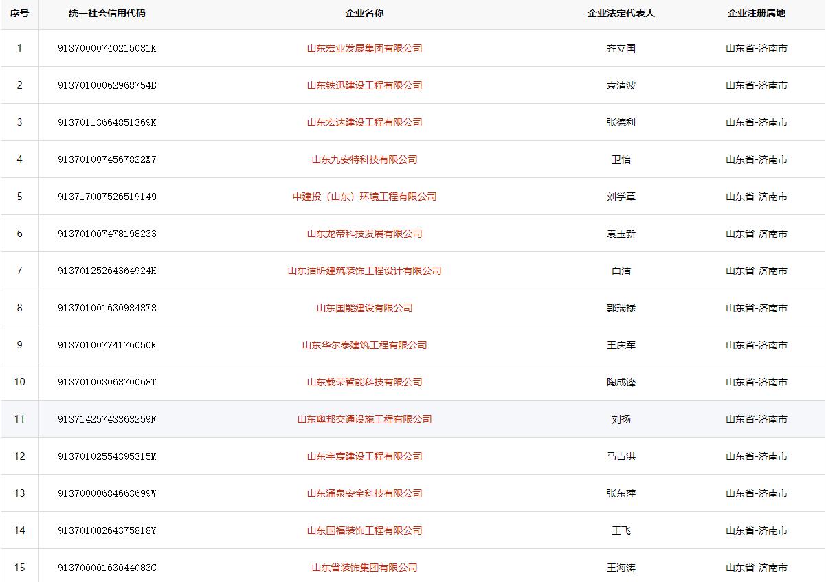
山东省·电子与智能化工程专业承包二级(济南)

1 913701051633862436 济南消防工程有限公司 张衍林 山东省-济南市

2 91370000740215031K 山东宏业发展集团有限公司 齐立国 山东省-济南市

3 91370100062968754B 山东铁迅建设工程有限公司 袁清波 山东省-济南市

4 91370113664851369K 山东宏达建设工程有限公司 张德利 山东省-济南市

5 9137010074567822X7 山东九安特科技有限公司 卫怡 山东省-济南市

6 91370102553704382T 济南北软电子信息技术有限公司 董良杰 山东省-济南市

7 913701007478198233 山东龙帝科技发展有限公司 袁玉新 山东省-济南市

8 91371500661367600C 和瑞消防工程有限公司 周效和 山东省-济南市

9 91370103725426973G 济南科瑞智能机房工程有限责任公司 高铁军 山东省-济南市

10 913701007238929035 水发机电集团有限公司 窦连辉 山东省-济南市

11 91370125264364924H 山东洁昕建筑装饰工程设计有限公司 白洁 山东省-济南市

12 913701001630984878 山东国能建设有限公司 郭瑞禄 山东省-济南市

13 91370100774176050R 山东华尔泰建筑工程有限公司 王庆军 山东省-济南市

14 91370100306870068T 山东载荣智能科技有限公司 陶成锋 山东省-济南市

15 913701136846746030 山东平安环境科技有限公司 孙广胜 山东省-济南市

16 91371425743363259F 山东奥邦交通设施工程有限公司 刘扬 山东省-济南市

17 913701120611629866 山东海筑暖通工程有限公司 戴磊 山东省-济南市

18 913701005607881074 中国铁路通信信号集团济南工程有限公司 谢德胜 山东省-济南市

19 91370102554395315M 山东宇宸建设工程有限公司 马占洪 山东省-济南市

20 91370000684663699W 山东涌泉安全科技有限公司 张东萍 山东省-济南市

21 91370100264375818Y 山东鼎鑫建设集团有限公司 王飞 山东省-济南市

22 91370000723267972H 国核信息科技有限公司 张从昕 山东省-济南市

23 91370000163044083C 山东省装饰集团有限公司 王海涛 山东省-济南市

24 913701006974935024 山东博科建筑工程有限公司 甘延婷 山东省-济南市

25 913700001630437185 山东送变电工程有限公司 朱德祎 山东省-济南市

26 91370102264280018F 济南铁路信息技术有限公司 林晓光 山东省-济南市

27 913701007346965961 山东省鲁美建材装饰有限公司 韩慧 山东省-济南市

28 91370100740233731H 山东高速信息工程有限公司 邹博 山东省-济南市

29 91370112737219277D 山东百安建设工程有限公司 洪艺文 山东省-济南市

30 91370112664881517C 山东拓能集团济南软件有限公司 李恒安 山东省-济南市

31 9137000066809326XD 沃尔德项目管理有限公司 林浩 山东省-济南市

32 91371200706196009F 莱芜市邮电建筑工程有限公司 何建波 山东省-济南市

33 913701000926740286 山东恒悦消防工程有限公司 朱艳艳 山东省-济南市

34 91370100747839242F 山东江森机电工程有限公司 李宏斌 山东省-济南市

35 91370000163048463X 山东高速齐鲁建设集团有限公司 颜鲁博 山东省-济南市

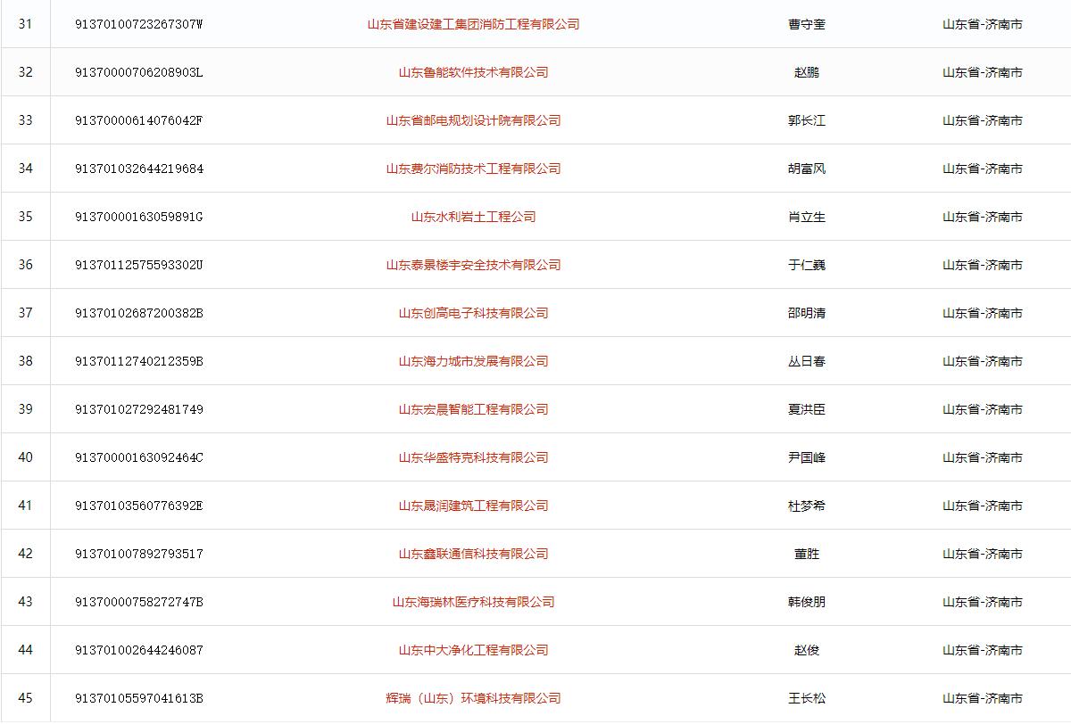
36 91370105069018276W 山东康德莱净化工程有限公司 曲英燕 山东省-济南市

37 913701007424202581 山东东方信达信息科技股份有限公司 王建新 山东省-济南市

38 91370181054858547J 山东东辰共赢服务有限公司 梅兴富 山东省-济南市

39 913712007306711053 山东力创科技股份有限公司 郝振刚 山东省-济南市

40 91370100745676611P 山东铁通工程建设有限责任公司 杨保国 山东省-济南市

41 91370125684689039U 山东国宸装饰工程有限公司 李庆军 山东省-济南市

42 91370100723267307W 山东省建设建工集团消防工程有限公司 曹守奎 山东省-济南市

43 91370112762857078C 奥斯福集团有限公司 李永山 山东省-济南市

44 91370000706208903L 山东鲁能软件技术有限公司 赵鹏 山东省-济南市

45 91370105076164626A 济南中海净化工程有限公司 徐猛 山东省-济南市

46 913701007392635036 康威通信技术股份有限公司 杨震威 山东省-济南市

47 91370105264328683J 济南建设设备安装有限责任公司 高震 山东省-济南市

48 91370000614076042F 山东省邮电规划设计院有限公司 郭长江 山东省-济南市

49 91370100613205279A 济南普利电子系统控制工程有限公司 李建军 山东省-济南市

50 913701032644219684 山东费尔消防技术工程有限公司 胡富风 山东省-济南市

51 91370000163059891G 山东水利岩土工程公司 肖立生 山东省-济南市

52 91370112575593302U 山东泰景楼宇安全技术有限公司 于仁巍 山东省-济南市

53 91370102687200382B 山东创高电子科技有限公司 邵明清 山东省-济南市

54 91370112740212359B 山东海力城市发展有限公司 丛日春 山东省-济南市

55 264331508 济南剀诚消防自控设备有限公司 郭伟 山东省-济南市

56 91370000163092464C 山东华盛特克科技有限公司 尹国峰 山东省-济南市

57 91370103560776392E 山东晟润建筑工程有限公司 杜梦希 山东省-济南市

58 9137010205487773XU 神州瑞宸建设集团有限公司 李军 山东省-济南市

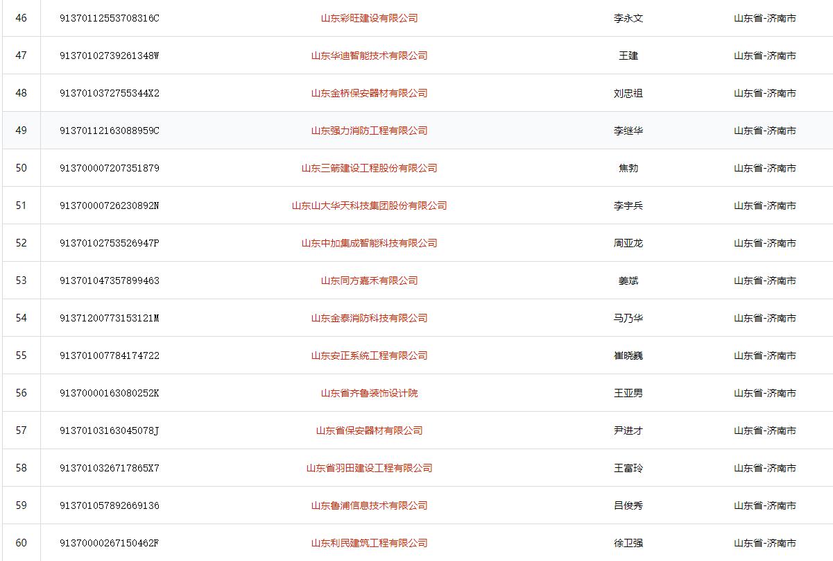
59 913701007892793517 山东鑫联通信科技有限公司 董胜 山东省-济南市

60 91370000758272747B 山东海瑞林医疗科技有限公司 韩俊朋 山东省-济南市

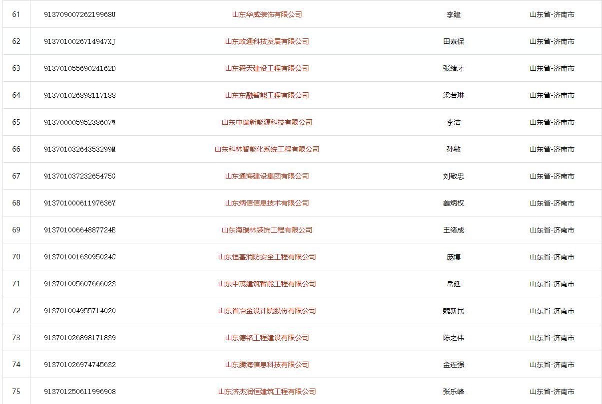
61 913701002644246087 山东中大净化工程有限公司 赵俊 山东省-济南市

62 913701022643512343 济南林海装饰工程有限公司 刘敬业 山东省-济南市

63 91370105597041613B 辉瑞(山东)环境科技有限公司 王长松 山东省-济南市

64 91370113163505695T 济南长兴安装工程公司 刘继刚 山东省-济南市

65 91370112553708316C 山东彩旺建设有限公司 李永文 山东省-济南市

66 91370100560756498U 展鹏嘉业信息产业股份有限公司 孙峰 山东省-济南市

67 91370102739261348W 山东华迪智能技术有限公司 王建 山东省-济南市

68 913701002643774502 济南信高工程技术有限公司 王敏朝 山东省-济南市

69 9137010372755344X2 山东金桥保安器材有限公司 刘忠祖 山东省-济南市

70 91370112163088959C 山东强力消防工程有限公司 李继华 山东省-济南市

71 913700007207351879 山东三箭建设工程股份有限公司 焦勃 山东省-济南市

72 91370000726230892N 山东华天科技集团股份有限公司 李宇兵 山东省-济南市

73 91370102753526947P 山东中加集成智能科技有限公司 周亚龙 山东省-济南市

74 91370000745680637K 山东山大华特环保科技有限公司 姚广平 山东省-济南市

75 913701047357899463 山东同方嘉禾有限公司 姜斌 山东省-济南市

76 91371200773153121M 山东金泰消防科技有限公司 马乃华 山东省-济南市

77 913701817806163233 山东现代交通设施有限公司 陈永强 山东省-济南市

78 913701007784174722 山东安正系统工程有限公司 崔晓巍 山东省-济南市

79 91370113568118263A 济南润德医用工程有限公司 李玉燕 山东省-济南市

80 91370000163080252K 山东省齐鲁装饰设计院 王亚男 山东省-济南市

81 91370100792624582Y 万旭宏业集团有限公司 刘冰 山东省-济南市

82 91370103163045078J 山东省保安器材有限公司 尹进才 山东省-济南市

83 913701817456939726 济南丰汇科技有限公司 王建兵 山东省-济南市

84 9137010326717865X7 山东省羽田建设工程有限公司 王富玲 山东省-济南市

85 913701057892669136 山东鲁浦信息技术有限公司 吕俊秀 山东省-济南市

86 91370103705895991H 明视科技有限公司 李丽娟 山东省-济南市

87 91370102757498939P 济南恒大视讯科技有限公司 朱卫国 山东省-济南市

88 91370000267150462F 山东利民建筑工程有限公司 徐卫强 山东省-济南市

89 9137010061407256XR 万得福实业集团有限公司 林志勇 山东省-济南市

90 91370112738150320R 济南鑫新东信科技有限公司 余立新 山东省-济南市

91 9137010026714947XJ 山东政通科技发展有限公司 田素保 山东省-济南市

92 91370105569024162D 山东舜天建设工程有限公司 张绪才 山东省-济南市

93 913701026898117188 山东东融智能工程有限公司 梁若琳 山东省-济南市

94 913701007207498616 济南金宇公路产业发展有限公司 李玉宝 山东省-济南市

95 91370000595238607W 山东中瑞新能源科技有限公司 李洁 山东省-济南市

96 91370102684687607U 济南人通信息科技有限公司 赵洪建 山东省-济南市

97 91370103723265475G 山东通海建设集团有限公司 刘敬忠 山东省-济南市

98 91370100061197636Y 山东炳信信息技术有限公司 姜炳权 山东省-济南市

99 913701121631328092 永隆装饰工程有限公司 魏永新 山东省-济南市

100 91370100664887724E 山东海瑞林装饰工程有限公司 王绪成 山东省-济南市

101 91370100163095024C 山东恒基消防安全工程有限公司 庞博 山东省-济南市

102 913701005607666023 山东中茂建筑智能工程有限公司 岳延 山东省-济南市

103 913701004955714020 山东省冶金设计院股份有限公司 魏新民 山东省-济南市

104 91370000706369061R 银丰工程有限公司 王磊 山东省-济南市

105 9137010078063816X0 济南海基科技发展有限公司 李香萍 山东省-济南市

106 913701027554348273 雪山集团有限公司 王广山 山东省-济南市

107 913701026898171839 山东德铭工程建设有限公司 陈之伟 山东省-济南市

108 913701026974745632 山东腾海信息科技有限公司 金连强 山东省-济南市

109 913701250611996908 山东济杰润恒建筑工程有限公司 张乐峰 山东省-济南市

110 9137010068982181XR 山东广翰电子科技有限公司 王心青 山东省-济南市

111 9137120070619568XG 山东英泰建设有限公司 陈茂传 山东省-济南市

112 91370100672274047T 济南滨特科技有限公司 景义伟 山东省-济南市

113 759196977 山东胜华通成信息技术有限公司 陈光荣 山东省-济南市

114 91370100264426451R 嘉林建设集团有限公司 滕林行 山东省-济南市

115 913701001631544693 济南建工总承包集团有限公司 张晓萌 山东省-济南市

116 91370112737232199W 山东深装总装饰工程工业有限公司 龙彩霞 山东省-济南市

117 91370102264397582D 济南金盾工程有限责任公司 王京平 山东省-济南市

118 913700005804028494 山东群雄建设工程有限公司 刘芳芳 山东省-济南市

119 91370125751754460K 山东三箭建设工程管理有限公司 赵庆民 山东省-济南市

120 91370000698052581R 山东科华电力技术有限公司 朱文 山东省-济南市

121 9137010266488761X2 山东义祥电气安装工程有限公司 庞斌 山东省-济南市

122 91370000163062513J 山东广电广播技术有限公司 张芝武 山东省-济南市

123 913700007517744454 山东星通电讯科技股份有限公司 吕明庆 山东省-济南市

124 91370000163068886F 山东省双城工程建设有限公司 董国民 山东省-济南市

125 91370000726229592Y 华特数字科技有限公司 郑波 山东省-济南市

126 91370100571650293B 山东万林建设工程有限公司 张长林 山东省-济南市

127 913701002644602033 济南大陆机电股份有限公司 荆书典 山东省-济南市

128 91370000163081626T 山东省水利水电建筑工程承包有限公司 张海涛 山东省-济南市

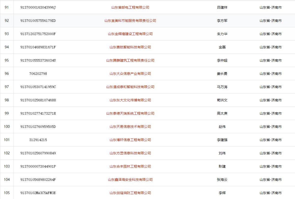
129 91370000163043996J 山东省邮电工程有限公司 吕建祥 山东省-济南市

130 9137010057556179XD 山东宜美科节能服务有限责任公司 李方军 山东省-济南市

131 91370100706206342A 鸿鑫工程有限公司 李毅 山东省-济南市

132 91370104568106879Q 济南瑞源智能城市开发有限公司 朱浩 山东省-济南市

133 91370000724299685N 积成电子股份有限公司 王良 山东省-济南市

134 756353076 济南嘉胜信息工程有限公司 牛保伟 山东省-济南市

135 91370104689831671F 山东赛航智能科技有限公司 金磊 山东省-济南市

136 91370105553736034U 山东腾麒建筑工程有限责任公司 李仲超 山东省-济南市

137 706202798 山东大众信息产业有限公司 姜长勇 山东省-济南市

138 91370105307141959C 山东道成泰和智能科技有限公司 马万涛 山东省-济南市

139 913701025681074688 山东东大文化传播有限公司 荀洪文 山东省-济南市

140 91370102774173271H 山东泰德天瑞系统工程有限公司 吕翊 山东省-济南市

141 91370102760959505D 山东天易信息技术有限公司 赵伟 山东省-济南市

142 312914215 山东博轩信息工程有限公司 李建强 山东省-济南市

143 913701025607990849 山东方显信息科技有限公司 刘伟 山东省-济南市

144 91370000073044901P 山东合丰园林工程有限公司 耿建 山东省-济南市

145 91370105689802264F 山东鑫泽海安全科技有限公司 张海云 山东省-济南市

146 91370102MA3C5AFM3E 山东剑锋消防工程有限公司 李辉 山东省-济南市

147 91370100568115046M 山东和同信息科技股份有限公司 耿哲 山东省-济南市

148 9137010066485675XG 山东耀通科技集团股份有限公司 冯鹏 山东省-济南市

149 91370112772056258U 山东诚志伟业科技有限公司 赵伟 山东省-济南市

150 91370100580404932N 建艺建设工程有限公司 李含顺 山东省-济南市

151 91370100771015796D 山东金洲科瑞节能科技有限公司 李钢 山东省-济南市

152 91370100787445010K 山东天用智能技术有限公司 董涛 山东省-济南市

153 91370112089788016U 山东顺佳建设工程有限公司 满银娟 山东省-济南市

154 91370112589944126L 山东竞天信息科技有限公司 郭宪龙 山东省-济南市

155 91370100787443437K 济南格林信息科技有限公司 赵秀珍 山东省-济南市

156 91370103306864311H 山东鹰格信息工程有限公司 栾风翔 山东省-济南市

157 91370104306936768B 山东耘威医疗科技有限公司 王继忠 山东省-济南市

158 91370103MA3CH2466B 山东硕豪建筑工程有限公司 王广胜 山东省-济南市

159 91370102061198604R 山东深博建筑工程有限公司 赵思瑞 山东省-济南市

160 913701030978428443 山东华品智能工程有限公司 李新礼 山东省-济南市

161 91370112664899346J 济南新易达交通工程有限公司 韩书兵 山东省-济南市

162 913701120611919550 山东启方科技有限公司 王超 山东省-济南市

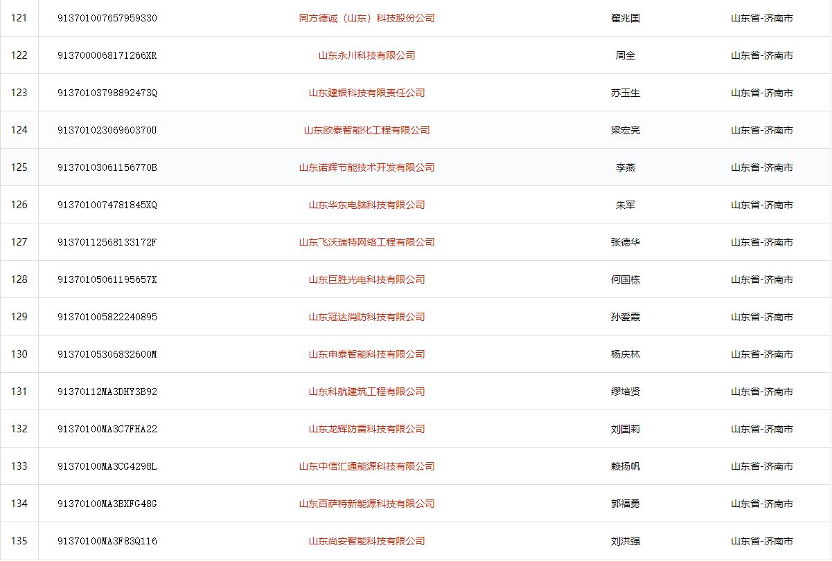
163 913701007657959330 同方德诚(山东)科技股份公司 翟兆国 山东省-济南市

164 91370103689817490G 盛世兆业智能科技有限公司 肖丽 山东省-济南市

165 9137000068171266XR 山东永川科技有限公司 周全 山东省-济南市

166 91370103798892473Q 山东建银科技有限责任公司 苏玉生 山东省-济南市

167 91370102306960370U 山东欧泰智能化工程有限公司 梁宏亮 山东省-济南市

168 91370103061156770B 山东诺辉节能技术开发有限公司 李燕 山东省-济南市

169 9137010074781845XQ 山东华东电脑科技有限公司 朱军 山东省-济南市

170 91370112568133172F 山东飞沃瑞特网络工程有限公司 张德华 山东省-济南市

171 91370105061195657X 山东巨胜光电科技有限公司 何国栋 山东省-济南市

172 913701120611752693 济南三科智能化工程有限公司 薛成喜 山东省-济南市

173 913701005822240895 山东冠达消防科技有限公司 孙爱霞 山东省-济南市

174 91370105306832600M 山东申泰智能科技有限公司 杨庆林 山东省-济南市

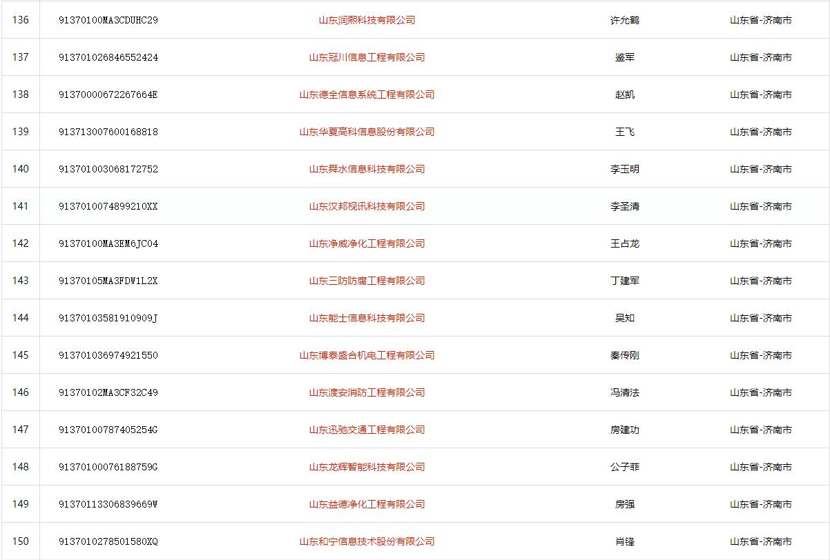
175 91370112MA3DHY3B92 山东科航建筑工程有限公司 缪培贤 山东省-济南市

176 91370100MA3C7FHA22 山东龙辉防雷科技有限公司 刘国莉 山东省-济南市

177 9137010230700812XF 普智信息技术有限公司 徐文容 山东省-济南市

178 91370100MA3CG4298L 山东中信汇通能源科技有限公司 赖扬帆 山东省-济南市

179 91370100MA3BXFG48G 山东百萨特新能源科技有限公司 郭福勇 山东省-济南市

180 91370100MA3F83Q116 山东尚安智能科技有限公司 刘洪强 山东省-济南市

181 91370100MA3CDUHC29 山东润熙科技有限公司 许允鹤 山东省-济南市

182 913701026846552424 山东冠川信息工程有限公司 鉴军 山东省-济南市

183 91370203MA3CM4UF80 青岛信恒智达科技有限公司 孟凡涛 山东省-济南市

184 91370000672267664E 山东德全信息系统工程有限公司 赵凯 山东省-济南市

185 913713007600168818 山东华夏高科信息股份有限公司 王飞 山东省-济南市

186 913701003068172752 山东舜水信息科技有限公司 李玉明 山东省-济南市

187 9137010074899210XX 山东汉邦视讯科技有限公司 李圣清 山东省-济南市

188 91370112760028428W 济南天创伟业科技有限公司 任焕杰 山东省-济南市

189 91370100MA3EM6JC04 山东净威净化工程有限公司 王占龙 山东省-济南市

190 91370100705884731M 济南和利时自动化工程有限公司 杨宝兴 山东省-济南市

191 91370105MA3FDW1L2X 山东三防防腐工程有限公司 丁建军 山东省-济南市

192 91370103581910909J 山东能士信息科技有限公司 吴知 山东省-济南市

193 913701036974921550 山东博泰盛合机电工程有限公司 秦传刚 山东省-济南市

194 91370102MA3CF32C49 山东渡安消防工程有限公司 冯清法 山东省-济南市

195 91370100787405254G 山东迅驰交通工程有限公司 房建功 山东省-济南市

196 91370100076188759G 山东龙辉智能科技有限公司 公子菲 山东省-济南市

197 91370113306839669W 山东益德净化工程有限公司 房强 山东省-济南市

198 9137010278501580XQ 山东和宁信息技术股份有限公司 肖锋 山东省-济南市

199 913701023070507821 山东克莱默电子科技有限公司 马宁 山东省-济南市

200 91370102MA3D40DN73 众矗建设集团有限公司 杨汝刚 山东省-济南市

201 913701127731822996 山东正安达电力工程有限公司 万鲁娟 山东省-济南市

202 91370100582223190Q 济南森瑞信息科技有限公司 耿福刚 山东省-济南市

203 91370100664867547Y 山东翼翔信息技术有限公司 张振 山东省-济南市

204 91370102589936302Q 巷石(山东)智能工程有限公司 卢敏 山东省-济南市

205 91370100775264984Y 山东创安交通预警工程有限公司 顾浩 山东省-济南市

206 91370105095291460J 山东鲁泽信息技术有限公司 曹锋 山东省-济南市

207 913701127806095029 山东思言信息科技有限公司 张忠全 山东省-济南市

208 91370100MA3DNU7G7C 山东东源消防工程有限公司 李明 山东省-济南市

209 91370102MA3C65309T 济南泽越机电科技有限公司 徐从侠 山东省-济南市

210 913700007266807469 山东广电网络有限公司 李建华 山东省-济南市

211 913701027517896639 山东天启信息技术有限公司 贾玉军 山东省-济南市

212 91370103773179444N 英耐特科技集团有限公司 卜庆波 山东省-济南市

213 913701007544983194 山东鲁盾智能科技有限公司 董清富 山东省-济南市

214 9137010079261160XJ 山东金潮交通设施有限公司 徐士超 山东省-济南市

215 91370102306928696C 山东柯联信息科技有限公司 陈云衢 山东省-济南市

216 91370100748951316W 山东天竞电子科技有限公司 郭洪涛 山东省-济南市

217 91370102774195112N 山东融基伟业科技有限公司 齐敏 山东省-济南市

218 91370102560758063X 山东博思达电源设备有限公司 杨青军 山东省-济南市

219 91370100575588271A 山东致群信息技术股份有限公司 李致文 山东省-济南市

220 91370100264351859R 济南瑞泉电子有限公司 于卫国 山东省-济南市

221 91370100307141860K 山东索迈信息科技有限公司 时念峰 山东省-济南市

222 91370100726698946B 山东光辉电子工程有限公司 王春山 山东省-济南市

223 91370100069028810M 山东凯研信息科技有限公司 孙磊 山东省-济南市

224 91370100MA3C13F45L 山东宏科建筑工程有限公司 杜连明 山东省-济南市

225 91370100735760924G 济南和一汇盛科技发展有限责任公司 董孝忠 山东省-济南市

226 91370105MA3F8X8X09 山东融智汇科科技发展有限公司 杨涛 山东省-济南市

227 91370102720746927H 同力科技发展有限公司 刘运智 山东省-济南市

228 91370112568130676J 济南泰格电子技术有限公司 张伟 山东省-济南市

229 91370100MA3C40TBX6 山东津泰网络科技有限公司 徐超 山东省-济南市

230 91370100306828572Q 山东骏翔信息技术有限公司 马承奎 山东省-济南市

231 91370100672289118C 济南光路科技有限公司 周丽 山东省-济南市

232 91370100306925591L 山东金线通智能科技有限公司 马林海 山东省-济南市

233 91370100783498342H 山东德鲁泰信息科技股份有限公司 张曙光 山东省-济南市

234 91370102559931455J 山东东明金龙信息产业有限责任公司 李庆宽 山东省-济南市

235 91370100MA3M653H7G 山东中天长金建筑工程有限公司 吴伟 山东省-济南市

236 913701033070483085 山东蓝润建筑工程有限公司 黄明波 山东省-济南市

237 913701127874156714 山东宇明建筑工程有限公司 李慧 山东省-济南市

238 913701037806023784 济南元坤机电设备有限公司 杨镇 山东省-济南市

239 91370103761896059X 山东广成节能科技有限公司 高晓涛 山东省-济南市

240 91370104MA3PG75P80 山东聚利智能工程有限公司 李建飞 山东省-济南市

241 91370181568130297Y 山东龙腾控股有限公司 李传品 山东省-济南市

242 91370105MA3D7L7UXD 山东润一智能科技有限公司 刘利达 山东省-济南市

243 91370100582229840N 山东拓恒电力设备有限公司 张娅楠 山东省-济南市

244 91370102740953325L 济南天歌科技有限公司 高歌 山东省-济南市

245 91370100571674949W 山东鼎讯智能交通股份有限公司 邹锋 山东省-济南市

246 91370102MA3MLXHN3F 山东飞碟智能科技有限公司 王修贞 山东省-济南市

247 913701026722528767 山东广鹏信息科技有限公司 杨海祥 山东省-济南市

248 91370112MA3C7R54X0 山东通恒智能科技有限公司 聂孟良 山东省-济南市

249 913700005578584429 山东电工电气集团有限公司 周群 山东省-济南市

250 91370102306800676E 山东光环通信工程有限公司 孙广敬 山东省-济南市

251 91370112MA3BYG1X8G 山东天频信息工程有限公司 袁超 山东省-济南市

252 91370100582211173R 山东正群电子工程有限公司 张吉燕 山东省-济南市

253 91370100306902031W 山东通维信息工程有限公司 马亚栋 山东省-济南市

254 91370102MA3MAUD790 山东瑞煜智能科技有限公司 许杰 山东省-济南市

255 91370102MA3CELDA1F 山东正昊智能工程有限公司 颜昊 山东省-济南市

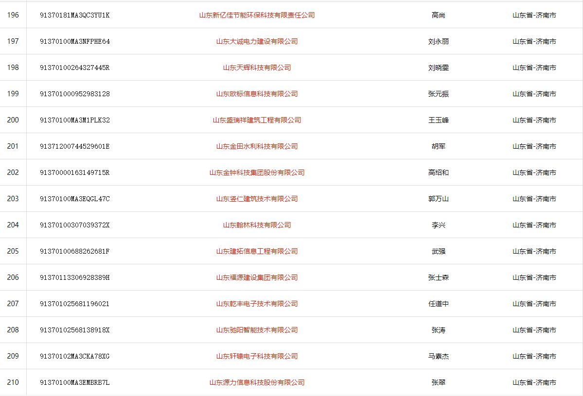
256 91370100MA3NX3UH1C 山东海乐智能化工程有限公司 贾芳玲 山东省-济南市

257 91370181MA3QC3YU1K 山东新亿佳节能环保科技有限责任公司 高尚 山东省-济南市

258 91370124MA3F2NKH6D 龙景建设集团有限公司 许士勇 山东省-济南市

259 91370100MA3NFPHE64 山东大诚电力建设有限公司 刘永丽 山东省-济南市

260 913701000761844758 济南国韵电子技术有限公司 鹿山山 山东省-济南市

261 913701055822353196 七兵堂国际安保集团有限公司 马永群 山东省-济南市

262 91370100264327445R 山东天辉科技有限公司 刘晓雯 山东省-济南市

263 9137010076369774XM 济南普华联合科技有限公司 张彦华 山东省-济南市

264 91370100568119776D 和远智能科技股份有限公司 张方恒 山东省-济南市

265 913701000952983128 山东欧标信息科技有限公司 张元振 山东省-济南市

266 91370100MA3M1PLK32 山东盛瑞祥建筑工程有限公司 王玉峰 山东省-济南市

267 91371200744529601E 山东金田水利科技有限公司 胡军 山东省-济南市

268 91370000163149715R 山东金钟科技集团股份有限公司 高绍和 山东省-济南市

269 91370100MA3EQGL47C 山东竖仁建筑技术有限公司 郭万山 山东省-济南市

270 91370100307039372X 山东翰林科技有限公司 李兴 山东省-济南市

271 91370100688262681F 山东建拓信息工程有限公司 付建秋 山东省-济南市

272 91370113306928389H 山东福源建设集团有限公司 张士森 山东省-济南市

273 913701025681196021 山东乾丰电子技术有限公司 任道中 山东省-济南市

274 91370102568138918X 山东驰阳智能技术有限公司 张涛 山东省-济南市

275 91370102MA3CKA78XG 山东轩辕电子科技有限公司 马素杰 山东省-济南市

276 91370100MA3EMBRB7L 山东源力信息科技股份有限公司 张翠 山东省-济南市

277 913701006974901253 山东奥联信息科技有限公司 李广毅 山东省-济南市

278 91370102740956649R 山东盛世博威通信技术有限公司 陈修军 山东省-济南市

279 91370102MA3D7PPT7D 山东厚诚智能技术有限公司 孙晓伟 山东省-济南市

280 91370102743392471X 山东正元冶达科技发展有限公司 唐安业 山东省-济南市

281 91370100061150096H 佳泽睿安集团有限公司 邵辉 山东省-济南市

282 91370100792604610P 济南欧讯科技有限公司 赵立国 山东省-济南市

283 9137010230689668XP 中晟软件股份有限公司 孙立伟 山东省-济南市

284 91370100582207414B 山东安一建设工程有限公司 崔斯逊 山东省-济南市

285 91371600493499750G 山东华控自动化设备有限公司 李莹莹 山东省-济南市

286 91370112MA3RG9UR0C 未来实验室装备(山东)有限公司 李坤林 山东省-济南市

287 91370102672257458Q 佳良智能工程有限公司 毛从家 山东省-济南市

288 91370100MA3DKYAN85 山东新竹智能科技有限公司 卢典 山东省-济南市

289 91370112069034022N 山东路遥建设有限公司 韩伟 山东省-济南市

290 9137010274895535X2 山东华普信息科技有限公司 单兰存 山东省-济南市

291 9137120208085139XF 山东国华科技发展有限公司 王林 山东省-济南市

292 91370105798875040Q 济南欧亚科技发展有限公司 翟世兰 山东省-济南市

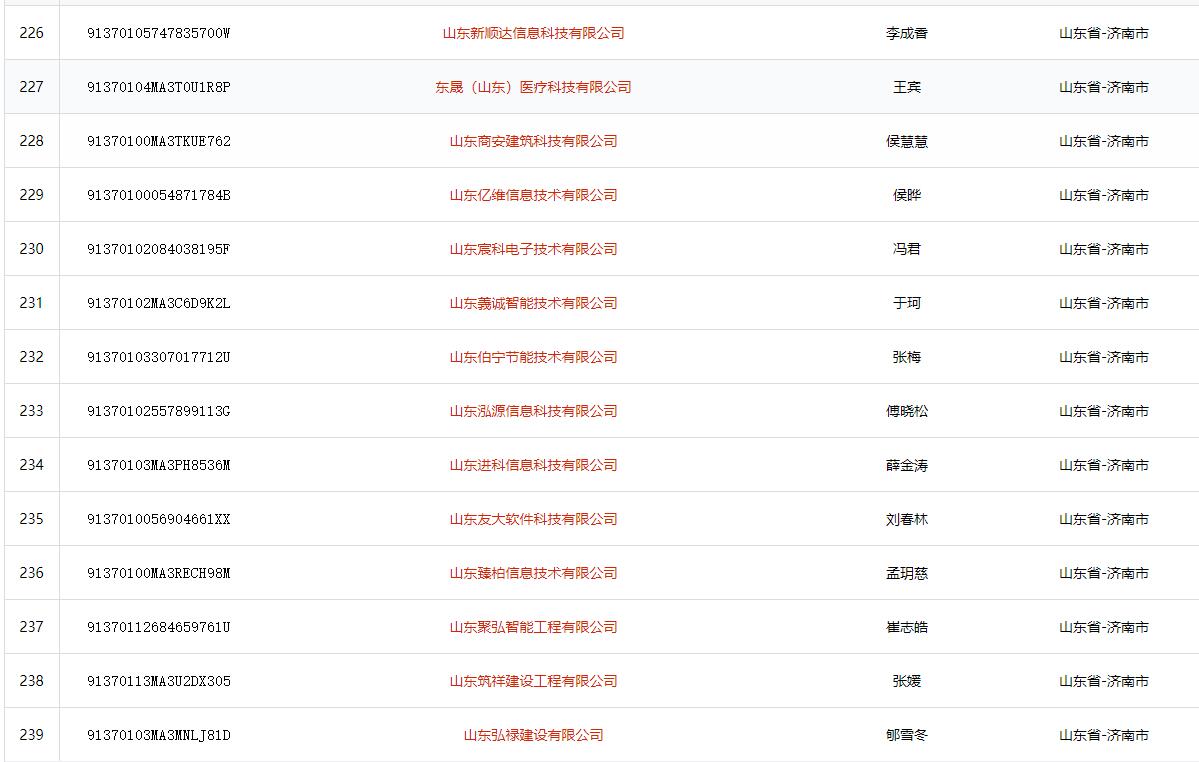
293 91370102MA3DEDJA9L 山东展恒智能科技有限公司 李新 山东省-济南市

294 913701006772508882 山东久江瑞宇科技有限公司 车传龙 山东省-济南市

295 91370112MA3F457653 济南川聚信息工程有限公司 周立福 山东省-济南市

296 91370128MA3MQJ6E9G 山东合硕智能工程有限公司 王涛 山东省-济南市

297 91370112353455879T 山东瑞旭建筑智能化工程有限公司 王士伟 山东省-济南市

298 91370102306935730B 山东雄迈智能化工程有限公司 陈超 山东省-济南市

299 91370105747835700W 山东新顺达信息科技有限公司 李成香 山东省-济南市

300 91370104MA3T0U1R8P 东晟(山东)医疗科技有限公司 王宾 山东省-济南市

301 91370100MA3TKUE762 山东商安建筑科技有限公司 侯慧慧 山东省-济南市

302 91370100054871784B 山东亿维信息技术有限公司 侯晔 山东省-济南市

303 91370102084038195F 山东宸科电子技术有限公司 冯君 山东省-济南市

304 91370102MA3C6D9K2L 山东義诚智能技术有限公司 于珂 山东省-济南市

305 91370103307017712U 山东伯宁节能技术有限公司 张梅 山东省-济南市

306 91370102557899113G 山东泓源信息科技有限公司 傅晓松 山东省-济南市

307 91370103MA3PH8536M 山东进科信息科技有限公司 聂昌福 山东省-济南市

308 9137010056904661XX 山东友大软件科技有限公司 刘春林 山东省-济南市

309 91370100MA3RECH98M 山东臻柏信息技术有限公司 孟玥慈 山东省-济南市

310 91370105076187318K 济南众鼎智能科技有限公司 孙学波 山东省-济南市

311 91370112684659761U 山东聚弘智能工程有限公司 崔志皓 山东省-济南市

312 91370100575584473Y 济南图倍智能工程有限公司 王秀霞 山东省-济南市

313 91370113MA3U2DX305 山东筑祥建设工程有限公司 张媛 山东省-济南市

314 91370103MA3MNLJ81D 山东弘禄建设有限公司 郇雪冬 山东省-济南市

315 91370104353491909Q 济南广兴建设集团有限公司 陈建坤 山东省-济南市

316 91370112MA3T5UJY7K 中儒益城(山东)建筑科技有限公司 王安宏 山东省-济南市

317 91370112553719189G 山东江信智能技术有限公司 王春斌 山东省-济南市

318 913701000840129564 山东世方信息技术有限公司 王国方 山东省-济南市

319 91370102MA3MMTDF70 济南伯尚益信息科技有限公司 陈晓娜 山东省-济南市

320 91370100MA3RELPC8L 山东高速千方交通科技有限公司 齐霖 山东省-济南市

321 91370213564707052P 山东普莱斯特实验室工程有限公司 杨金山 山东省-济南市

322 91370100MA3U9F026U 山东晖通建设集团有限公司 王勇 山东省-济南市

323 91370100MA3CDA9843 山信软件股份有限公司 张元福 山东省-济南市

324 91370000725438069L 山东赛宝电子信息工程有限责任公司 蒋孝军 山东省-济南市

325 91370103MA3D2QDL0P 山东力硕智能科技有限公司 郭庆平 山东省-济南市

326 91370103MA3M622Y1B 山东特驰交通科技有限公司 张春山 山东省-济南市

327 91370102MA3CFRNC3N 山东贝驰信息科技有限公司 张鹏 山东省-济南市

328 91370102307039540W 山东金孚瑞热能科技集团有限公司 杨善余 山东省-济南市

329 91370100MA3C4XFG1P 山东迪博电子科技有限公司 张洪举 山东省-济南市

330 91370103MA3U3M2K2L 山东三信市政工程有限公司 邱兆三 山东省-济南市

331 91370100MA3U8QP70A 道睿(山东)科技有限公司 常德盼 山东省-济南市

332 9137010006901876X7 山东力潮时代智能科技有限公司 杨爱霞 山东省-济南市

333 91370102MA3TGBQP6D 山东骏科智能科技有限公司 马京忠 山东省-济南市

334 913701265537428217 创意银航(山东)技术有限公司 牛增强 山东省-济南市

335 91370112306881074T 山东耀弘信息技术有限公司 赵立刚 山东省-济南市

336 91370112787443023U 济南明智科技有限公司 刘超 山东省-济南市

337 913701003072756234 山东创元水务有限公司 侯彩云 山东省-济南市

338 91370112792644663H 济南乐雅创安电子技术有限公司 黄玉乐 山东省-济南市

339 91370100MA3M298N70 山东麦可智能科技有限公司 姬生真 山东省-济南市

340 91370100684683331H 山东信宇通信科技有限公司 薛益 山东省-济南市

341 913700000779718845 山东新元易方科技有限公司 马恿 山东省-济南市

342 91370100MA3M53L1XE 山东艾晖装饰工程有限公司 范进婵 山东省-济南市

343 91370112MA3TP20R1C 山东建研科林智能科技有限公司 孙敏 山东省-济南市

344 913701125567278039 山东盛高电子科技有限公司 潘凤斌 山东省-济南市

345 91370102MA3RQRQG90 中慧城通科技发展有限公司 张锋 山东省-济南市

346 91370100597012847X 山东承势电子科技有限公司 胡明征 山东省-济南市

347 91370102798853714G 济南盛驰科技有限公司 袁付根 山东省-济南市

348 91370104092676920Q 济南悦来电子科技有限公司 朱林 山东省-济南市

349 91370105568135979W 济南飞扬信息技术有限公司 刘元会 山东省-济南市

350 91371200749878595L 莱芜钢铁集团电子有限公司 杨锦华  山东省-莱芜市(济南市)




发表评论
评论通过审核后显示。