可信赖的计算机系统集成商和IT产品、服务提供商!
登录
注册
首页
关于我们
公司简介
企业文化
组织架构
人才理念
新闻资讯
公司新闻
行业新闻
厂家信息
技术社区
公司产品
UPS电源
〓山特UPS
〓科华UPS
〓华为UPS
〓维谛UPS
〓海悟UPS
〓台达UPS
〓科士达
〓英威腾
〓其他品牌
蓄电池组
〓松下/汤浅/阳光
〓伊顿/维谛/台达
山特/科华/科士达
圣阳/理士/西恩迪
耐普/NPP/欧力特
CNYU/南都/宝迪
〓其他知名品牌
〓 专用锂电池〓
〓电池柜(架)〓
精密空调
〓英维克〓
〓佳力图〓
〓依米康〓
〓维谛〓
〓海悟〓
〓华为〓
其他品牌
机房设备
智能配电
标准机柜
EPS电源
发电机组
气体消防
静电地板
新风系统
防雷接地
大屏显示
动环监控
〓微模块
山特微模块
科华微模块
华为微模块
维谛微模块
海悟微模块
科士达微模块
英威腾微模块
解决方案
机房工程
防雷工程
系统集成
〓微模块
案例资质
成功案例
代理资质
合作伙伴
施工现场
服务支持
维保服务
代理资质
售后服务
服务承诺
联系我们
联系我们
人才招聘
当前位置:
首页
行业新闻
行业新闻
时间
热度
4699
2021-04-23
山东省滨州市电子与智能化工程专业承包二级(2021)
2021年(截止04月23日)滨州市电子与智能化专业承包二级公司名单!信息来源:国家住建局
5121
2021-04-23
山东泰安市电子与智能化工程专业承包二级(2021)
2021年(截止04月23日)泰安市电子与智能化专业承包二级公司名单!信息来源:国家住建局
5360
2021-04-23
山东省威海市电子与智能化工程专业承包二级(2021)
2021年(截止04月23日)威海市电子与智能化专业承包二级公司名单!信息来源:国家住建局
4766
2021-04-23
山东省德州市电子与智能化工程专业承包二级(2021)
2021年(截止04月23日)德州市电子与智能化专业承包二级公司名单!信息来源:国家住建局
4977
2021-04-23
山东省淄博市电子与智能化工程专业承包二级(2021)
2021年(截止04月23日)淄博市电子与智能化专业承包二级公司名单!信息来源:国家住建局
3308
2021-04-23
山东省电子与智能化工程专业承包二级分析
2021年(截止04月23日)山东省电子与智能化专业承包二级公司名单!信息来源:国家住建局
4391
2021-04-23
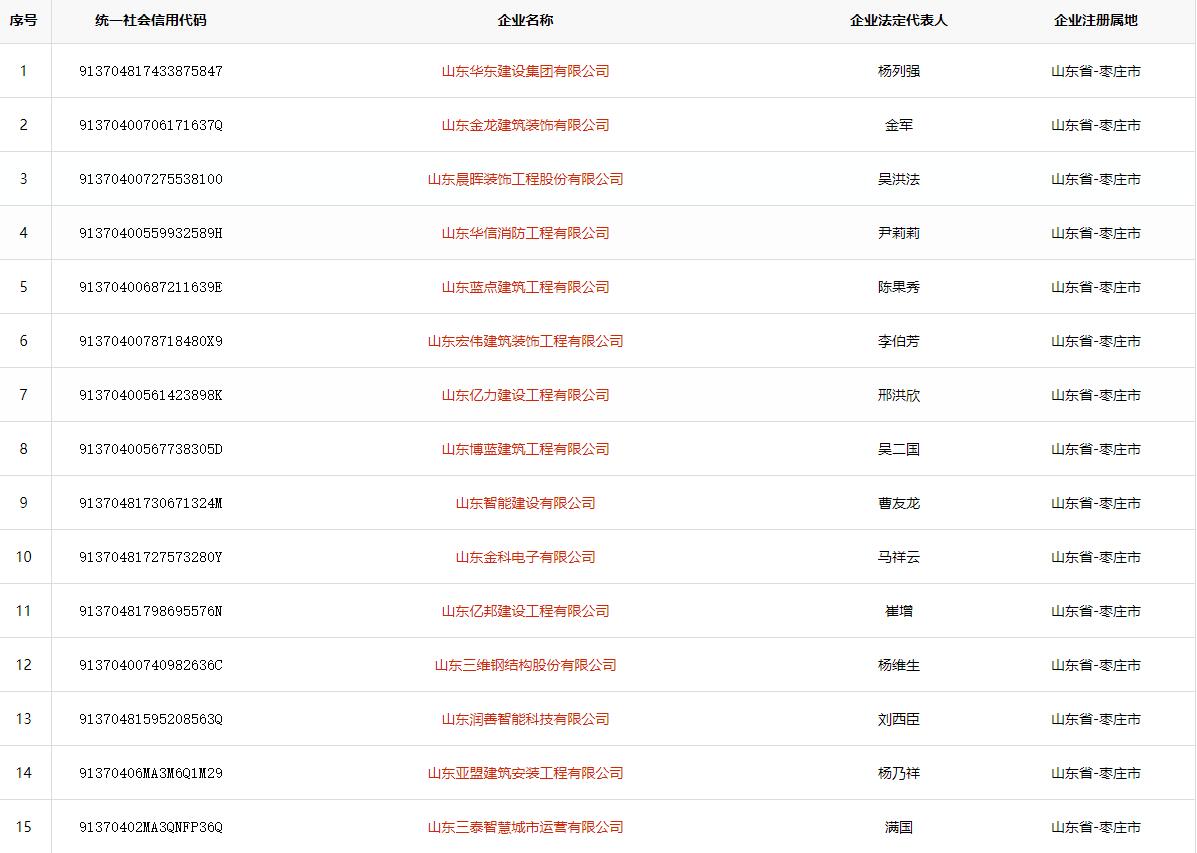
山东省枣庄市电子与智能化工程专业承包二级(2021)
山东省·电子与智能化工程专业承包二级(枣庄) 1 913704817433875847 ...
5425
2021-04-23
山东省临沂市电子与智能化工程专业承包二级(2021)
2021年(截止04月23日)临沂市电子与智能化专业承包二级公司名单!信息来源:国家住建局
5231
2021-04-23
山东省济宁市电子与智能化工程专业承包二级(2021)
2021年(截止04月23日)济宁市电子与智能化专业承包二级公司名单!信息来源:国家住建局
5660
2021-04-23
山东省东营市电子与智能化工程专业承包二级(2021)
2021年(截止04月23日)东营市电子与智能化专业承包二级公司名单!信息来源:国家住建局
移动访问